US12276485 - Detecting body spin on a projectile

The patent describes a body spin detection device for projectiles that utilizes a detection element and a perturbing element to assess the spin rate of a rotating chassis and a despun collar portion. By analyzing the differences in signal characteristics from reflected electrical signals, the device can determine the rotational orientation and spin rate of the projectile components.
Claim 1
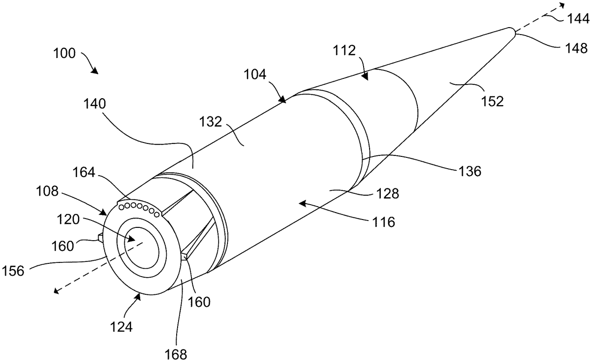
- A body spin detection device for a rotating chassis and despun collar portion, the device comprising: a chassis extending axially from a tail portion to a nose portion, the chassis defining a generally cylindrical wall and further defining a collar support portion extending axially from the tail portion; a despun collar portion rotationally mounted on the collar support portion, the despun collar portion separated axially from the chassis for free despinning of the despun collar portion relative to the chassis about a central axis, the despun collar portion separated by a gap between a first face of the despun collar portion and an opposing annular shoulder of the chassis; a detection element mounted in one of the first face and the opposing annular shoulder; and a perturbing element mounted in the other of the first face and the opposing annular shoulder, the perturbing element and the detection element positioned opposing one another such that the despun collar portion and chassis having a plurality of rotational orientations, relative to one another about the central axis, including a first rotational orientation where the perturbing element and the detection element are rotationally aligned and a second rotational orientation where the perturbing element and the detection element are rotationally non-aligned; and detection circuitry electrically coupled with the detection element, the detection circuitry including a processor and a computer readable storage medium, the computer readable storage medium including a set of instructions executable by the processor to cause the detection circuitry to: transmit, via the detection element, an electrical signal in an axial direction towards the perturbing element and the other of the first face and the opposing annular shoulder; receive, via the detection element, a first input signal, the first input signal being a reflected portion of the transmitted electrical signal reflected via the perturbing element; determine a first set of signal characteristics for the first input signal; receive, via the detection element, a second input signal, the second input signal being a reflected portion of the transmitted electrical signal reflected via the other of the first face and the opposing annular shoulder not including the perturbing element; determine a second set of signal characteristics for the second input signal; and determine, by comparing the first set of signal characteristics to the second set of signal characteristics, that the first input signal is different from the second input signal. a chassis extending axially from a tail portion to a nose portion, the chassis defining a generally cylindrical wall and further defining a collar support portion extending axially from the tail portion; a despun collar portion rotationally mounted on the collar support portion, the despun collar portion separated axially from the chassis for free despinning of the despun collar portion relative to the chassis about a central axis, the despun collar portion separated by a gap between a first face of the despun collar portion and an opposing annular shoulder of the chassis; a detection element mounted in one of the first face and the opposing annular shoulder; and a perturbing element mounted in the other of the first face and the opposing annular shoulder, the perturbing element and the detection element positioned opposing one another such that the despun collar portion and chassis having a plurality of rotational orientations, relative to one another about the central axis, including a first rotational orientation where the perturbing element and the detection element are rotationally aligned and a second rotational orientation where the perturbing element and the detection element are rotationally non-aligned; and detection circuitry electrically coupled with the detection element, the detection circuitry including a processor and a computer readable storage medium, the computer readable storage medium including a set of instructions executable by the processor to cause the detection circuitry to: transmit, via the detection element, an electrical signal in an axial direction towards the perturbing element and the other of the first face and the opposing annular shoulder; receive, via the detection element, a first input signal, the first input signal being a reflected portion of the transmitted electrical signal reflected via the perturbing element; determine a first set of signal characteristics for the first input signal; receive, via the detection element, a second input signal, the second input signal being a reflected portion of the transmitted electrical signal reflected via the other of the first face and the opposing annular shoulder not including the perturbing element; determine a second set of signal characteristics for the second input signal; and determine, by comparing the first set of signal characteristics to the second set of signal characteristics, that the first input signal is different from the second input signal. transmit, via the detection element, an electrical signal in an axial direction towards the perturbing element and the other of the first face and the opposing annular shoulder; receive, via the detection element, a first input signal, the first input signal being a reflected portion of the transmitted electrical signal reflected via the perturbing element; determine a first set of signal characteristics for the first input signal; receive, via the detection element, a second input signal, the second input signal being a reflected portion of the transmitted electrical signal reflected via the other of the first face and the opposing annular shoulder not including the perturbing element; determine a second set of signal characteristics for the second input signal; and determine, by comparing the first set of signal characteristics to the second set of signal characteristics, that the first input signal is different from the second input signal.
Google Patents
https://patents.google.com/patent/US12276485
USPTO PDF
https://image-ppubs.uspto.gov/dirsearch-public/print/downloadPdf/12276485