US12276487 - Tools for applying torque

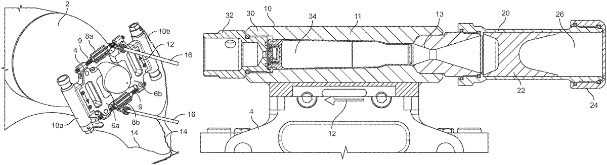
The patent describes a tool designed to apply torque to objects using a frame with adjustable jaws and thrusters that generate opposing thrust. A unique feature is the inclusion of a displaceable mass within a barrel of the thruster, which enhances recoil and torque when activated.
Claim 1
- A tool for applying torque to an object, the tool comprising: a frame for clamping to the object to which torque is to be applied, the frame comprising a pair of jaws with an adjustable separation therebetween, and an adjuster mechanism to adjust the separation between the jaws; at least one thruster disposed on opposite sides of an intended axis of rotation of the frame, respective thrusters providing thrust in opposite directions, so as to cooperate and generate torque on the frame; characterized in that a displaceable mass is provided within a barrel extending from at least one of said thrusters, wherein the displaceable mass is displaced by said at least one of said thrusters upon actuation, so as to increase the recoil, and hence the torque, experienced by the frame upon actuation of the thruster.
Google Patents
https://patents.google.com/patent/US12276487
USPTO PDF
https://image-ppubs.uspto.gov/dirsearch-public/print/downloadPdf/12276487