US12286867 - Self-shunting detonator for well perforating gun

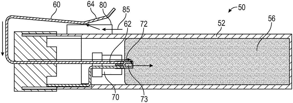
The patent describes a self-shunting detonator designed for well-perforating guns, featuring an electrically-conductive body and a resistor initiator with leads. The design includes a movable clip that can shunt or un-shunt the detonator based on its insertion into a housing, enhancing safety and functionality.
Claim 1
- A detonator for a perforating gun, the detonator comprising: an electrically-conductive detonator body; a resistor initiator inside the detonator body; a grounding element inside the detonator body coupling the detonator body to a first lead of the resistor initiator; an electrically-conductive clip having an interior portion coupled to a second lead of the resistor initiator inside the detonator body and an arm biased to electrical contact with an external surface of the detonator body to shunt the detonator, wherein the arm is moveable away from the detonator body to un-shunt the detonator, and an insulator cap closing an end of the detonator body, wherein the clip extends through the insulator cap to the resistor initiator; wherein the electrically-conductive clip is a unitary structure from the arm to an end where the clip is coupled to the second lead of the resistor initiator, and wherein the electrically-conductive clip comprises a straight section that extends from the resistor initiator to where it exits the detonator body through the insulator cap and a first bend to route the electrically-conductive clip from the insulator cap, and a second bend to route the arm of the electrically-conductive clip back toward the external surface of the detonator body, where the electrically-conductive clip electrically contacts the detonator body. an electrically-conductive detonator body; a resistor initiator inside the detonator body; a grounding element inside the detonator body coupling the detonator body to a first lead of the resistor initiator; an electrically-conductive clip having an interior portion coupled to a second lead of the resistor initiator inside the detonator body and an arm biased to electrical contact with an external surface of the detonator body to shunt the detonator, wherein the arm is moveable away from the detonator body to un-shunt the detonator, and wherein the arm is moveable away from the detonator body to un-shunt the detonator, and an insulator cap closing an end of the detonator body, wherein the clip extends through the insulator cap to the resistor initiator; wherein the electrically-conductive clip is a unitary structure from the arm to an end where the clip is coupled to the second lead of the resistor initiator, and wherein the electrically-conductive clip comprises a straight section that extends from the resistor initiator to where it exits the detonator body through the insulator cap and a first bend to route the electrically-conductive clip from the insulator cap, and a second bend to route the arm of the electrically-conductive clip back toward the external surface of the detonator body, where the electrically-conductive clip electrically contacts the detonator body. wherein the electrically-conductive clip is a unitary structure from the arm to an end where the clip is coupled to the second lead of the resistor initiator, and wherein the electrically-conductive clip comprises a straight section that extends from the resistor initiator to where it exits the detonator body through the insulator cap and a first bend to route the electrically-conductive clip from the insulator cap, and a second bend to route the arm of the electrically-conductive clip back toward the external surface of the detonator body, where the electrically-conductive clip electrically contacts the detonator body.
Google Patents
https://patents.google.com/patent/US12286867
USPTO PDF
https://image-ppubs.uspto.gov/dirsearch-public/print/downloadPdf/12286867