US12287177 - Ball head based clamping device

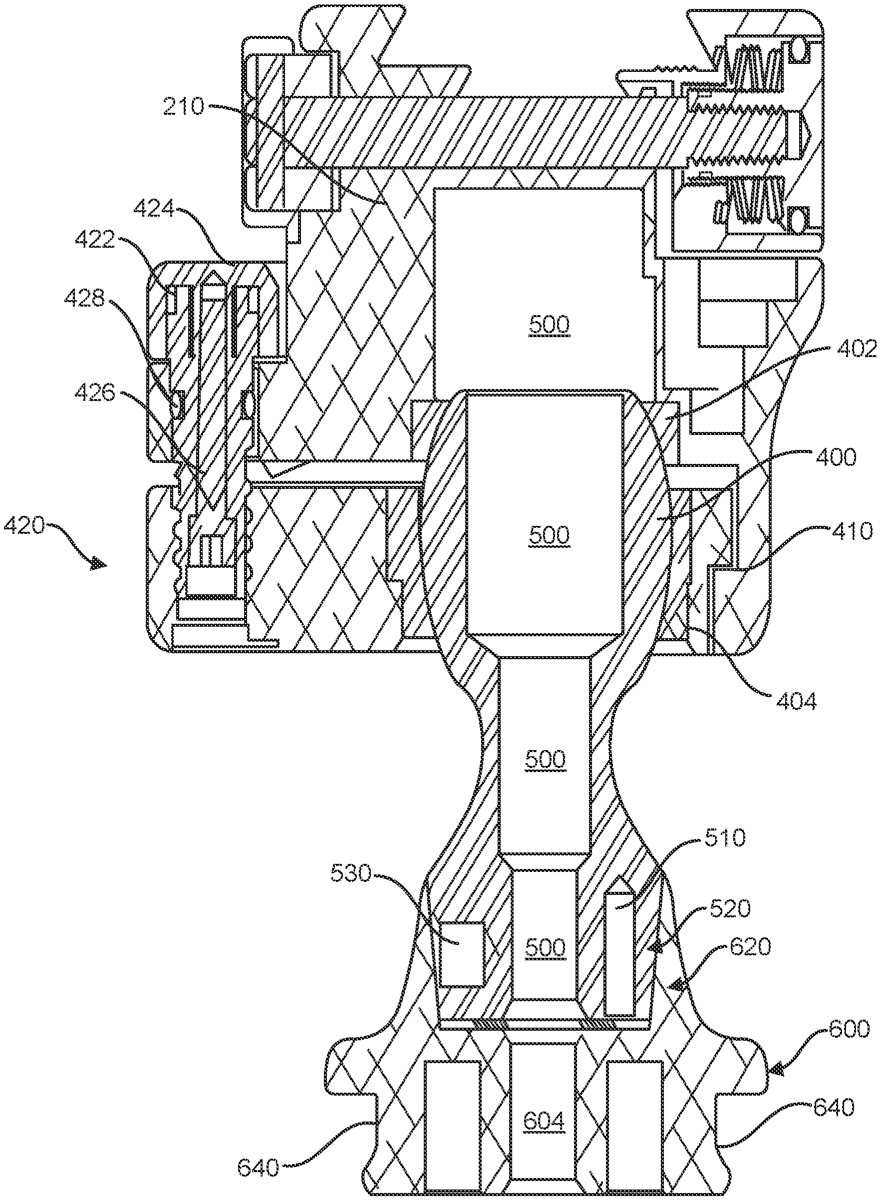
The patent describes a ball head based lever clamping device designed to engage a plate for equipment, featuring a body and an arm that create a channel for detachable engagement. It includes a ball mechanism that allows for rotational movement within defined cavities, enabling selective inhibition of movement between the upper and lower body components.
Claim 1
- An apparatus for selectively engaging a plate for equipment, said apparatus comprising: (a) a body and an arm capable of lateral movement with respect to said body collectively defining a channel having a pair of sidewalls suitable to detachably engage one of a pair of angled edges of said plate; (b) said body defining an upper body and defining an upper cavity, said body defining a lower body and defining a lower cavity; (c) a base that includes a ball that is sized to be rotatably maintained within a cavity defined by said upper cavity and said lower cavity; (d) said upper body and said lower body capable of movement with respect to one another to selectively inhibit movement of said body with respect to said ball. (a) a body and an arm capable of lateral movement with respect to said body collectively defining a channel having a pair of sidewalls suitable to detachably engage one of a pair of angled edges of said plate; (b) said body defining an upper body and defining an upper cavity, said body defining a lower body and defining a lower cavity; (c) a base that includes a ball that is sized to be rotatably maintained within a cavity defined by said upper cavity and said lower cavity; (d) said upper body and said lower body capable of movement with respect to one another to selectively inhibit movement of said body with respect to said ball.
Google Patents
https://patents.google.com/patent/US12287177
USPTO PDF
https://image-ppubs.uspto.gov/dirsearch-public/print/downloadPdf/12287177