US12296781 - Holding device and airbag module

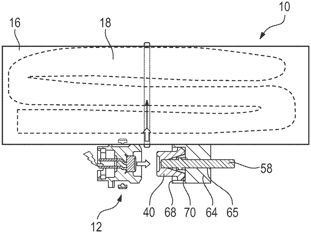
The patent describes a holding device for a vehicle airbag system that utilizes a pyrotechnical actuator assembly to hold and release a tether. This assembly includes a plastic base, a pyrotechnical unit with a propelling charge and igniter, and a movable reinforcing element to enhance the tether holder’s strength.
Claim 1
- A holding device for holding and releasing a tether of an airbag of a vehicle safety system, comprising: a pyrotechnical actuator assembly for holding the tether, the actuator assembly being actuatable to release the tether, wherein the actuator assembly comprises a plastic base in which a pyrotechnical unit including a propelling charge and an igniter is accommodated and held, wherein the pyrotechnical unit has a rear side and an opposite front side, a tether holder which is adjacent to the front side of the pyrotechnical unit and covers the same and which is detachably supported on the plastic base, the tether holder being configured to retain the tether in an unactuated state of the actuator assembly, and a reinforcing element which is supported to be axially movable between a first position and a second position, wherein the reinforcing element in the second position is disengaged from the tether holder and in the first position is at least partially received in the tether holder and mechanically reinforces the tether holder. a pyrotechnical actuator assembly for holding the tether, the actuator assembly being actuatable to release the tether, wherein the actuator assembly comprises a plastic base in which a pyrotechnical unit including a propelling charge and an igniter is accommodated and held, wherein the pyrotechnical unit has a rear side and an opposite front side, a tether holder which is adjacent to the front side of the pyrotechnical unit and covers the same and which is detachably supported on the plastic base, the tether holder being configured to retain the tether in an unactuated state of the actuator assembly, and a reinforcing element which is supported to be axially movable between a first position and a second position, wherein the reinforcing element in the second position is disengaged from the tether holder and in the first position is at least partially received in the tether holder and mechanically reinforces the tether holder.
Google Patents
https://patents.google.com/patent/US12296781
USPTO PDF
https://image-ppubs.uspto.gov/dirsearch-public/print/downloadPdf/12296781