US12297156 - Mechanically gassed emulsion explosives and related methods and systems

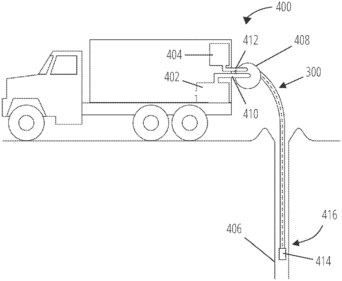
The patent describes a method for delivering a mechanically gassed emulsion explosive that enhances resistance to gas bubble migration and coalescence through homogenization without stabilizing agents. The process involves atomizing fuel with gas, mixing it with oxidizer solutions, and introducing gas into the emulsion before delivery into a borehole.
Claim 1
- A method of delivering an emulsion explosive, the method comprising: dividing an oxidizer salt solution into a first portion and a second portion; atomizing a fuel with a gas to form an atomized fuel, wherein the fuel is substantially devoid of a bubble stabilizing agent; mixing the first portion of the oxidizer salt solution with the atomized fuel to form a fuel-rich emulsion explosive having bubbles of the gas dispersed therein, and having an initial viscosity; mixing the fuel-rich emulsion explosive with the second portion of the oxidizer salt solution to form a more balanced emulsion explosive having an increased viscosity; homogenizing the more balanced emulsion explosive to form a homogenized emulsion explosive having a further increased viscosity; flowing the homogenized emulsion explosive through a conduit into a borehole; and introducing a stream of the gas into the homogenized emulsion explosive proximal to an outlet of the conduit. dividing an oxidizer salt solution into a first portion and a second portion; atomizing a fuel with a gas to form an atomized fuel, wherein the fuel is substantially devoid of a bubble stabilizing agent; mixing the first portion of the oxidizer salt solution with the atomized fuel to form a fuel-rich emulsion explosive having bubbles of the gas dispersed therein, and having an initial viscosity; mixing the fuel-rich emulsion explosive with the second portion of the oxidizer salt solution to form a more balanced emulsion explosive having an increased viscosity; homogenizing the more balanced emulsion explosive to form a homogenized emulsion explosive having a further increased viscosity; flowing the homogenized emulsion explosive through a conduit into a borehole; and introducing a stream of the gas into the homogenized emulsion explosive proximal to an outlet of the conduit.
Google Patents
https://patents.google.com/patent/US12297156
USPTO PDF
https://image-ppubs.uspto.gov/dirsearch-public/print/downloadPdf/12297156