US12298096 - Firearm suppressor assembly, and apparatus and method for audible signature reduction of a firearm

firearmsuppressorammunition
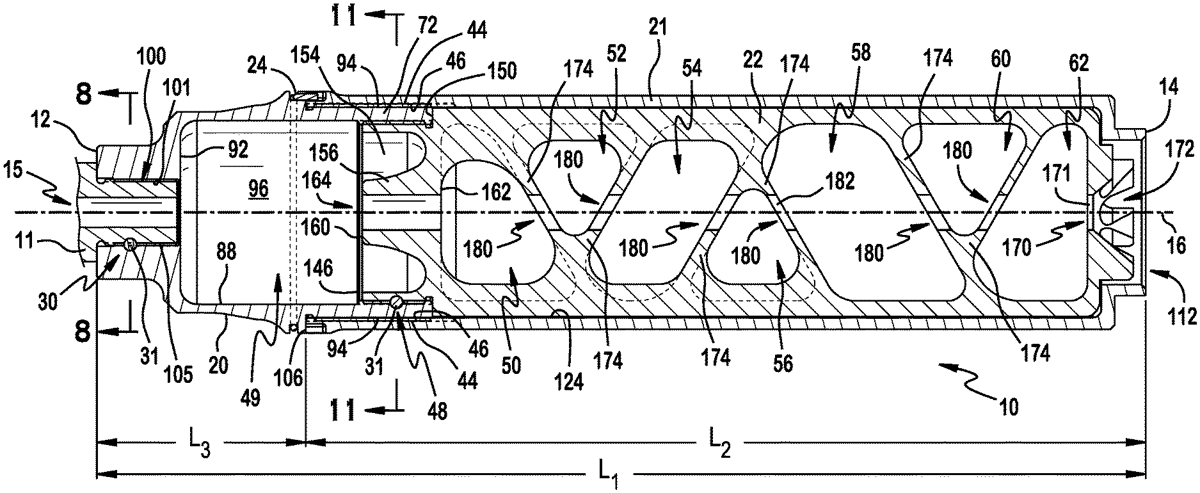
The patent describes a firearm suppressor assembly designed to reduce the audible signature of a firearm, featuring a mount body, a core with baffles, and a tube that encloses the core. The assembly incorporates threaded connections for secure attachment of its components, enhancing its functionality and effectiveness in sound suppression.
Claim 1
- A suppressor for a firearm, the suppressor including a first longitudinal axis and comprising: a mount body for receiving a muzzle of a firearm barrel, the mount body comprising a first proximal end, a first distal end spaced from the first proximal end along the first longitudinal axis, a collar adjacent to the first proximal end, an annular stem adjacent to the first distal end, the annular stem comprising a first outer side wall surface, which comprises a first screw thread, and a first interior side wall surface, which comprises a second screw thread; a core connected to the mount body, the core including a second longitudinal axis and comprising a second proximal end, a frame adjacent the second proximal end, the frame comprising a distal end wall, a proximal end wall spaced from the distal end wall along the second longitudinal axis, and an array of baffles arranged between the proximal end wall and the distal end wall, a proximal side wall disposed between the proximal end wall and the second proximal end, the proximal side wall comprising an exterior surface which comprises a third screw thread, the third screw thread being configured and dimensioned to mate with the second screw thread to secure the core to the mount body; and a M-baffle within the proximal side wall; and a tube disposed over the core and the annular stem, the tube comprising a third proximal end, a third distal end spaced from the third proximal end along the first longitudinal axis, and an interior sidewall extending from the third proximal end to the third distal end, the interior sidewall comprising a fourth screw thread, the fourth screw thread being configured and dimensioned to mate with the first screw thread to secure the tube to the mount body. a mount body for receiving a muzzle of a firearm barrel, the mount body comprising a first proximal end, a first distal end spaced from the first proximal end along the first longitudinal axis, a collar adjacent to the first proximal end, an annular stem adjacent to the first distal end, the annular stem comprising a first outer side wall surface, which comprises a first screw thread, and a first interior side wall surface, which comprises a second screw thread; a first proximal end, a first distal end spaced from the first proximal end along the first longitudinal axis, a collar adjacent to the first proximal end, an annular stem adjacent to the first distal end, the annular stem comprising a first outer side wall surface, which comprises a first screw thread, and a first interior side wall surface, which comprises a second screw thread; a first outer side wall surface, which comprises a first screw thread, and a first interior side wall surface, which comprises a second screw thread; a core connected to the mount body, the core including a second longitudinal axis and comprising a second proximal end, a frame adjacent the second proximal end, the frame comprising a distal end wall, a proximal end wall spaced from the distal end wall along the second longitudinal axis, and an array of baffles arranged between the proximal end wall and the distal end wall, a proximal side wall disposed between the proximal end wall and the second proximal end, the proximal side wall comprising an exterior surface which comprises a third screw thread, the third screw thread being configured and dimensioned to mate with the second screw thread to secure the core to the mount body; and a M-baffle within the proximal side wall; and a second proximal end, a frame adjacent the second proximal end, the frame comprising a distal end wall, a proximal end wall spaced from the distal end wall along the second longitudinal axis, and an array of baffles arranged between the proximal end wall and the distal end wall, a distal end wall, a proximal end wall spaced from the distal end wall along the second longitudinal axis, and an array of baffles arranged between the proximal end wall and the distal end wall, a proximal side wall disposed between the proximal end wall and the second proximal end, the proximal side wall comprising an exterior surface which comprises a third screw thread, the third screw thread being configured and dimensioned to mate with the second screw thread to secure the core to the mount body; and a M-baffle within the proximal side wall; and a tube disposed over the core and the annular stem, the tube comprising a third proximal end, a third distal end spaced from the third proximal end along the first longitudinal axis, and an interior sidewall extending from the third proximal end to the third distal end, the interior sidewall comprising a fourth screw thread, the fourth screw thread being configured and dimensioned to mate with the first screw thread to secure the tube to the mount body. a third proximal end, a third distal end spaced from the third proximal end along the first longitudinal axis, and an interior sidewall extending from the third proximal end to the third distal end, the interior sidewall comprising a fourth screw thread, the fourth screw thread being configured and dimensioned to mate with the first screw thread to secure the tube to the mount body.
Google Patents
https://patents.google.com/patent/US12298096
USPTO PDF
https://image-ppubs.uspto.gov/dirsearch-public/print/downloadPdf/12298096