US12298098 - Firearm barrel having at least one barrel gas port and method of manufacturing the same

firearmbarrelgasportmanufacturing
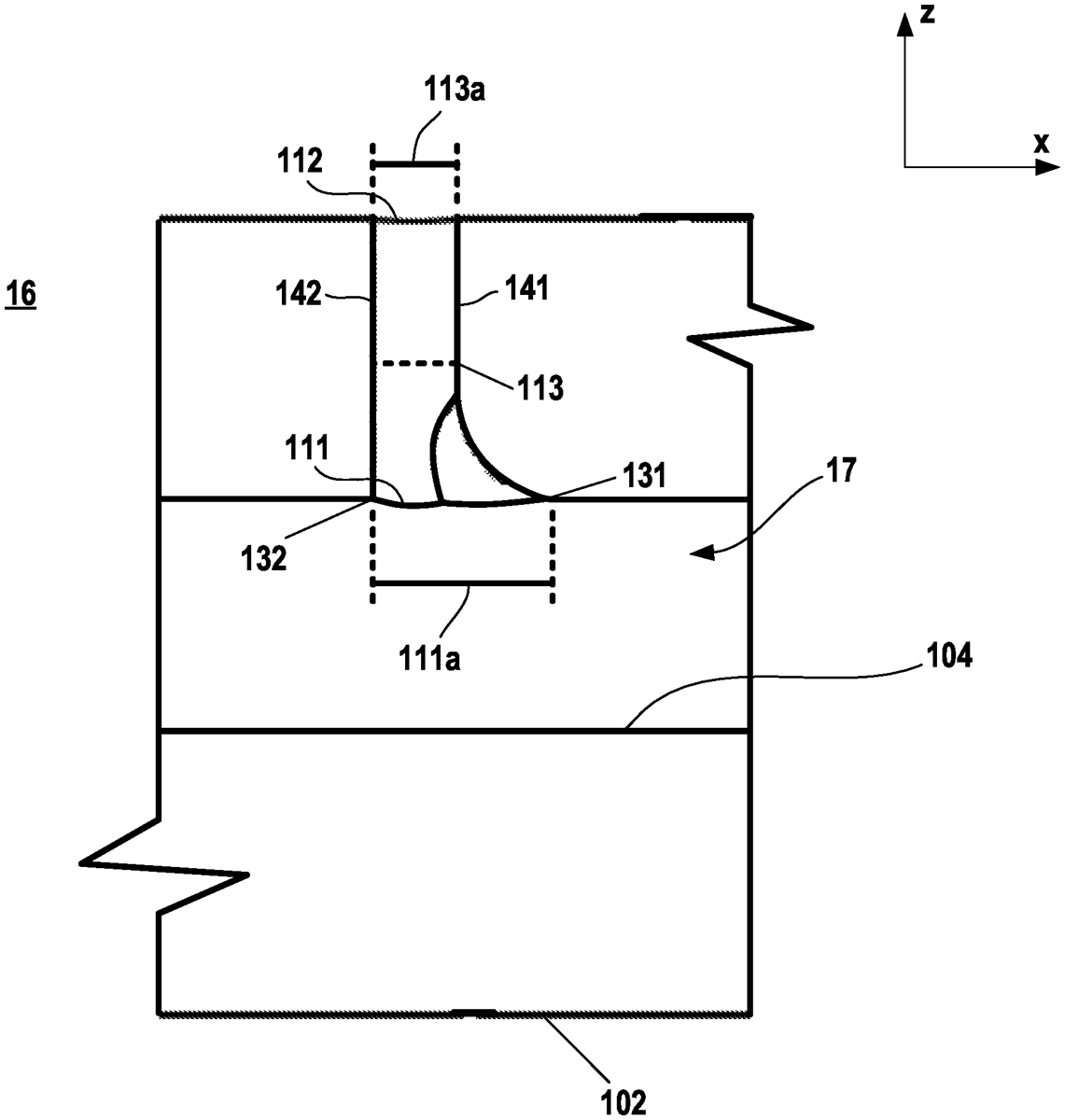
The patent describes a firearm barrel featuring a gas port designed to enhance communication between the bore and the firearm’s action, with specific dimensions for the port entrance. It also outlines a method for machining the barrel to create an asymmetrical gas port that improves performance by adjusting the port’s dimensions.
Claim 1
- A method of machining a portion of a barrel for a rifle, the method comprising: providing a barrel for a rifle, the barrel comprising an initial barrel gas port having a gas port depth extending between a port entrance defined by an inner surface of the barrel and a port exit, wherein the port entrance defines a length dimension defined parallel to a longitudinal axis of the barrel and a width dimension defined perpendicular to the length dimension, the inner surface defining rifling; and removing, via one or more subtractive manufacturing processes, an amount of material asymmetrically along at least a portion of a muzzle-side edge of the port entrance to form a machined barrel gas port, wherein the length dimension of the port entrance for the machined barrel gas port is greater than the width dimension of the port entrance, and wherein a center point of the length dimension of the port entrance of the machined barrel gas port extends further towards a muzzle of the barrel than the port entrance of the initial barrel gas port. providing a barrel for a rifle, the barrel comprising an initial barrel gas port having a gas port depth extending between a port entrance defined by an inner surface of the barrel and a port exit, wherein the port entrance defines a length dimension defined parallel to a longitudinal axis of the barrel and a width dimension defined perpendicular to the length dimension, the inner surface defining rifling; and removing, via one or more subtractive manufacturing processes, an amount of material asymmetrically along at least a portion of a muzzle-side edge of the port entrance to form a machined barrel gas port, wherein the length dimension of the port entrance for the machined barrel gas port is greater than the width dimension of the port entrance, and wherein a center point of the length dimension of the port entrance of the machined barrel gas port extends further towards a muzzle of the barrel than the port entrance of the initial barrel gas port.
Google Patents
https://patents.google.com/patent/US12298098
USPTO PDF
https://image-ppubs.uspto.gov/dirsearch-public/print/downloadPdf/12298098