US12298102 - Collapsible sight for a firearm

firearmsightcollapsible
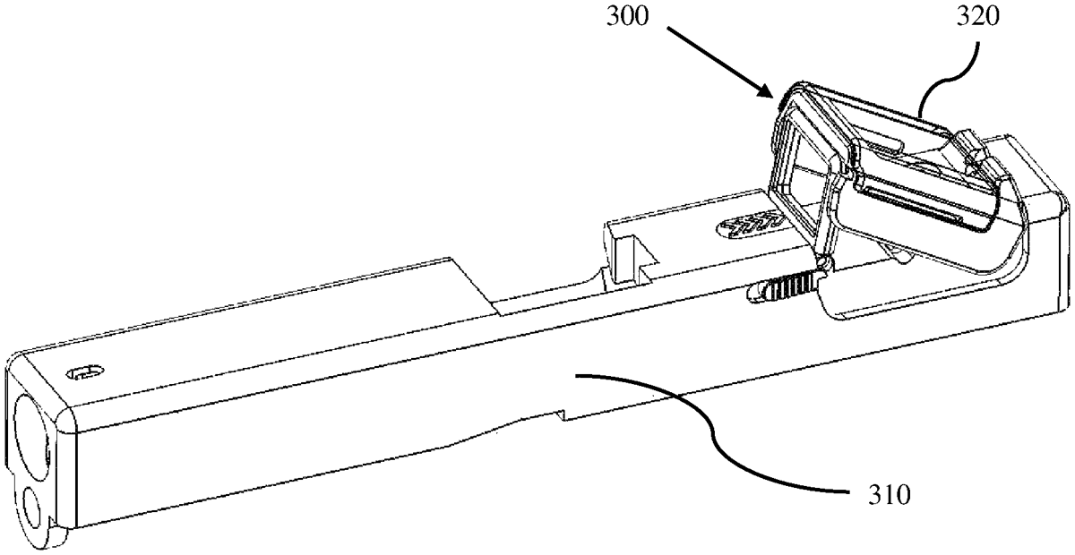
The patent describes a collapsible sight for firearms that includes a lens and a rotatable hood, which can be deployed or collapsed while maintaining alignment with the aiming light source. This design allows for compact storage and easy deployment, enhancing the firearm’s usability.
Claim 1
- A firearm, comprising: a rail; a mount attached to the rail; a lens attached to and rotatable with respect to the mount; a light source that reflects a light off a reflective surface of the lens to aim the firearm; and a hood rotatably mounted and in contact with the lens, wherein the hood folds over the lens in a collapsed configuration and is angled from the lens in a deployed configuration, and the hood and the lens each pivot on respective axes that are through the mount and parallel to each other. a rail; a mount attached to the rail; a lens attached to and rotatable with respect to the mount; a light source that reflects a light off a reflective surface of the lens to aim the firearm; and a hood rotatably mounted and in contact with the lens, wherein the hood folds over the lens in a collapsed configuration and is angled from the lens in a deployed configuration, and the hood and the lens each pivot on respective axes that are through the mount and parallel to each other.
Google Patents
https://patents.google.com/patent/US12298102
USPTO PDF
https://image-ppubs.uspto.gov/dirsearch-public/print/downloadPdf/12298102