US12298106 - Line of sight bias for missile guidance

This patent describes a missile guidance method that utilizes a curvature parameterization to improve the accuracy of targeting by calculating a curved line-of-sight direction vector. The method incorporates deep learning techniques to optimize the guidance system for various engagement scenarios, enhancing its adaptability to different target behaviors.
Claim 1
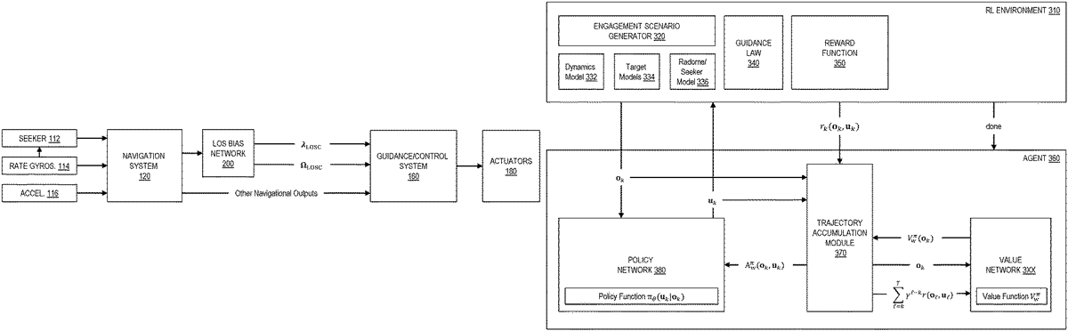
- A missile guidance method, comprising: receiving, from a navigation system, a line-of-sight unit vector indicative of a direction from a missile position of a missile to a target position of a target; calculating a curved line-of-sight direction vector by applying a curvature parameterization to the line-of-sight unit vector; and deriving a line-of-sight rotation rate for guiding the missile to the target from the curved line-of-sight direction vector. receiving, from a navigation system, a line-of-sight unit vector indicative of a direction from a missile position of a missile to a target position of a target; calculating a curved line-of-sight direction vector by applying a curvature parameterization to the line-of-sight unit vector; and deriving a line-of-sight rotation rate for guiding the missile to the target from the curved line-of-sight direction vector.
Google Patents
https://patents.google.com/patent/US12298106
USPTO PDF
https://image-ppubs.uspto.gov/dirsearch-public/print/downloadPdf/12298106