US12298113 - Projectile target for archery practice

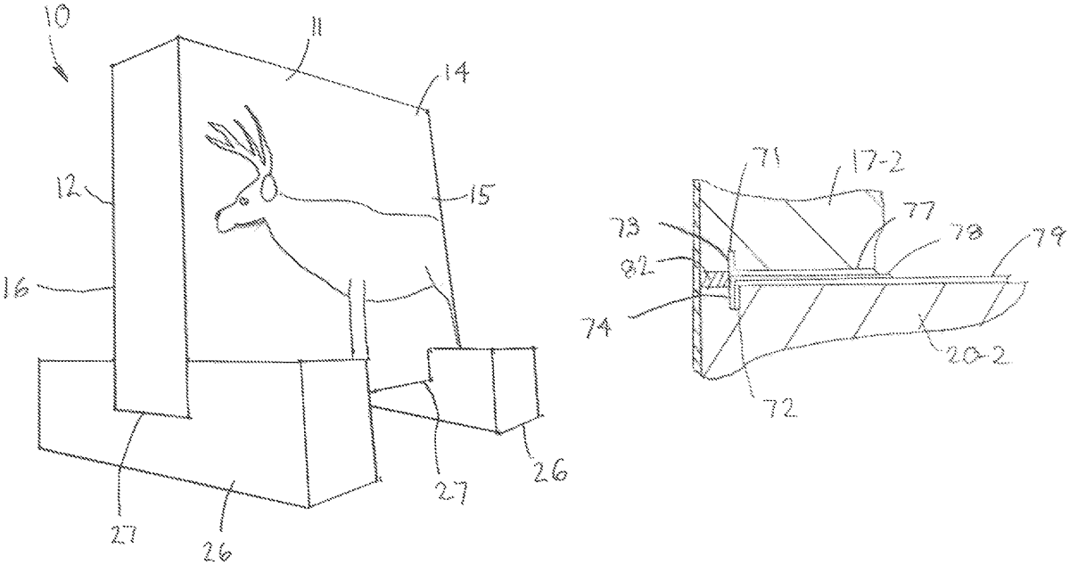
The patent describes a layered construction for an archery target that captures arrows without allowing them to penetrate completely through the target, featuring a central puncture-resistant layer. This target can have patterns on both sides and is designed to enhance durability and performance during practice.
Claim 1
- A target having a layered construction comprising: a main body having opposite first and second target faces formed with one or more target patterns, said main body comprising at least first and second target layers which have respective interior target faces disposed in facing relation with said first and second target layers being joined in facing relation to form said main body, said first and second target layers being formed as rigid blocks each having a respective layer thickness forming a fraction of a total thickness of said main body and said first and second target layers further being disposed in said facing relation to form an interface defining a central plane between said interior target faces of said first and second target layers; and a middle layer section being disposed in said central plane between said interior target faces of said first and second target layers and comprising a plurality of interior layers formed of flexible, puncture resistant sheets disposed in face-to-face relation, each of said interior layers comprising peripheral edge portions which surround a central portion wherein each peripheral edge portion is continuously or at least partially fixed to the respective interior target face of a respective one of said first and second target layers, each said central portion being unsecured from said respective one of said first and second target layers to permit deformation and stretching of said interior layer within said central plane to resist penetration of a projectile through said interior layer and prevent penetration of said projectile entirely through said main body, each of said puncture resistant sheets being formed of a fabric, and each of said interior target faces having a groove formed therein with said fabric in the region of said peripheral edge portions being embedded and secured within said groove of the respective interior target face of the respective one of said first and second target layers. a main body having opposite first and second target faces formed with one or more target patterns, said main body comprising at least first and second target layers which have respective interior target faces disposed in facing relation with said first and second target layers being joined in facing relation to form said main body, said first and second target layers being formed as rigid blocks each having a respective layer thickness forming a fraction of a total thickness of said main body and said first and second target layers further being disposed in said facing relation to form an interface defining a central plane between said interior target faces of said first and second target layers; and a middle layer section being disposed in said central plane between said interior target faces of said first and second target layers and comprising a plurality of interior layers formed of flexible, puncture resistant sheets disposed in face-to-face relation, each of said interior layers comprising peripheral edge portions which surround a central portion wherein each peripheral edge portion is continuously or at least partially fixed to the respective interior target face of a respective one of said first and second target layers, each said central portion being unsecured from said respective one of said first and second target layers to permit deformation and stretching of said interior layer within said central plane to resist penetration of a projectile through said interior layer and prevent penetration of said projectile entirely through said main body, each of said puncture resistant sheets being formed of a fabric, and each of said interior target faces having a groove formed therein with said fabric in the region of said peripheral edge portions being embedded and secured within said groove of the respective interior target face of the respective one of said first and second target layers.
Google Patents
https://patents.google.com/patent/US12298113
USPTO PDF
https://image-ppubs.uspto.gov/dirsearch-public/print/downloadPdf/12298113