US12302039 - Personal tactical system including garment, camera, and power distribution and data hub

The patent describes a personal tactical system that integrates a load-bearing garment with a camera, power distribution hub, and batteries, allowing for enhanced functionality in the field. This system can form an ad hoc network with multiple units to share information regarding object direction, location, and movement.
Claim 1
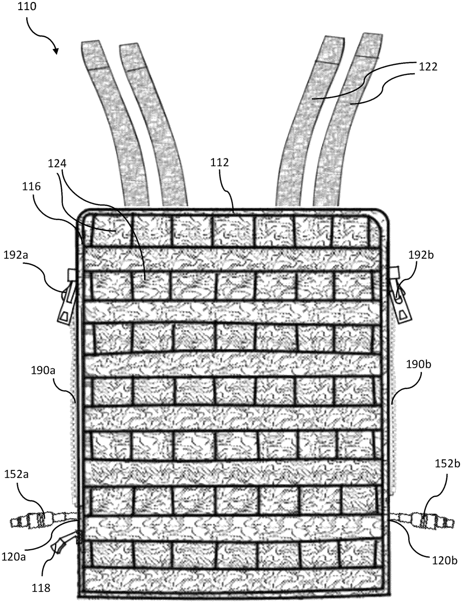
- A tactical system comprising: a load-bearing garment; at least one camera for capturing images; at least one power distribution and data hub; and one or more batteries; wherein the at least one camera is incorporated in and/or removably attachable to the load-bearing garment; wherein the one or more batteries are operable to supply power to the at least one power distribution and data hub; and wherein the at least one power distribution and data hub is operable to supply power to at least one peripheral device. a load-bearing garment; at least one camera for capturing images; at least one power distribution and data hub; and one or more batteries; wherein the at least one camera is incorporated in and/or removably attachable to the load-bearing garment; wherein the one or more batteries are operable to supply power to the at least one power distribution and data hub; and wherein the at least one power distribution and data hub is operable to supply power to at least one peripheral device.
Google Patents
https://patents.google.com/patent/US12302039
USPTO PDF
https://image-ppubs.uspto.gov/dirsearch-public/print/downloadPdf/12302039