US12305943 - Firearm operating mechanisms and bolt release

firearmmechanismtriggerbolt
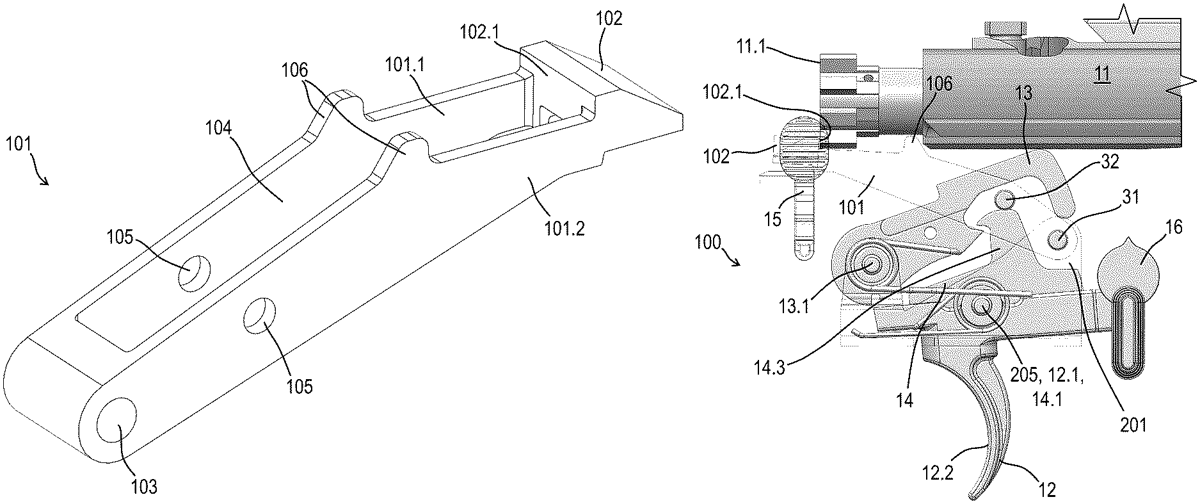
This patent describes an innovative operating mechanism for firearms that includes a trigger, hammer, disconnector, and a pivoting arm designed to engage the bolt carrier group, holding it in an open position. The system is structured to fit within the receiver of the firearm, enhancing its operational efficiency and functionality.
Claim 1
- An operating system disposed within a receiver of a firearm, the operating system comprising: a trigger; a hammer; a disconnector; a pivoting arm, wherein at least a portion of the pivoting arm is disposed rearward of the hammer; and a lower member, wherein at least a portion of the trigger and at least a portion of the disconnector are disposed adjacent to the lower member, wherein motion of the trigger causes a forward protrusion of the pivoting arm to engage a bolt carrier group of the firearm and hold the bolt carrier group in an open position. a trigger; a hammer; a disconnector; a pivoting arm, wherein at least a portion of the pivoting arm is disposed rearward of the hammer; and a lower member, wherein at least a portion of the trigger and at least a portion of the disconnector are disposed adjacent to the lower member, wherein motion of the trigger causes a forward protrusion of the pivoting arm to engage a bolt carrier group of the firearm and hold the bolt carrier group in an open position.
Google Patents
https://patents.google.com/patent/US12305943
USPTO PDF
https://image-ppubs.uspto.gov/dirsearch-public/print/downloadPdf/12305943