US12305960 - Concentric collocated aiming device

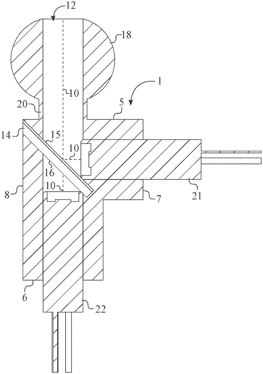
The concentric collocated aiming device features a prismatic hollow body with a dichroic mirror positioned at a 45-degree angle, allowing for the reflection and transmission of two distinct light beams for precise coalignment. It incorporates a ball-and-socket attachment mechanism that provides 360-degree movement, enhancing its versatility for various applications.
Claim 1
- A concentric collocated aiming device comprising: a prismatic hollow body; a dichroic mirror; a ball-and-socket attachment mechanism; the prismatic hollow body comprising a top base wall, a bottom base wall, a plurality of lateral walls, a first optical inlet, a second optical inlet, and an optical outlet; the ball-and-socket attachment mechanism comprising a ball portion and a socket portion; the plurality of lateral walls comprising a farthest-front lateral wall, a farthest-rear lateral wall, a farthest-left lateral wall, and a farthest-right lateral wall; the dichroic mirror being mounted into the prismatic hollow body; the dichroic mirror being mounted at a 45-degree angle between the farthest-front lateral wall and the farthest-right lateral wall; the first optical inlet traversing through the farthest-left lateral wall; an emission axis of the first optical inlet being oriented normal to the farthest-left lateral wall and intersecting the dichroic mirror; the second optical inlet traversing through the farthest-rear lateral wall; an emission axis of the second optical inlet being oriented normal to the farthest-rear lateral wall and intersecting the dichroic mirror; the ball portion being positioned external to the prismatic hollow body; the ball portion being mounted adjacent to the farthest-front lateral wall; the optical outlet traversing through the farthest-front lateral wall and the ball portion; an emission axis of the optical outlet being oriented normal to the farthest-front lateral wall and originating from the dichroic mirror; and the ball portion being pivotably mounted to the socket portion. a prismatic hollow body; a dichroic mirror; a ball-and-socket attachment mechanism; the prismatic hollow body comprising a top base wall, a bottom base wall, a plurality of lateral walls, a first optical inlet, a second optical inlet, and an optical outlet; the ball-and-socket attachment mechanism comprising a ball portion and a socket portion; the plurality of lateral walls comprising a farthest-front lateral wall, a farthest-rear lateral wall, a farthest-left lateral wall, and a farthest-right lateral wall; the dichroic mirror being mounted into the prismatic hollow body; the dichroic mirror being mounted at a 45-degree angle between the farthest-front lateral wall and the farthest-right lateral wall; the first optical inlet traversing through the farthest-left lateral wall; an emission axis of the first optical inlet being oriented normal to the farthest-left lateral wall and intersecting the dichroic mirror; the second optical inlet traversing through the farthest-rear lateral wall; an emission axis of the second optical inlet being oriented normal to the farthest-rear lateral wall and intersecting the dichroic mirror; the ball portion being positioned external to the prismatic hollow body; the ball portion being mounted adjacent to the farthest-front lateral wall; the optical outlet traversing through the farthest-front lateral wall and the ball portion; an emission axis of the optical outlet being oriented normal to the farthest-front lateral wall and originating from the dichroic mirror; and the ball portion being pivotably mounted to the socket portion.
Google Patents
https://patents.google.com/patent/US12305960
USPTO PDF
https://image-ppubs.uspto.gov/dirsearch-public/print/downloadPdf/12305960