US12312128 - Shock tube coil system

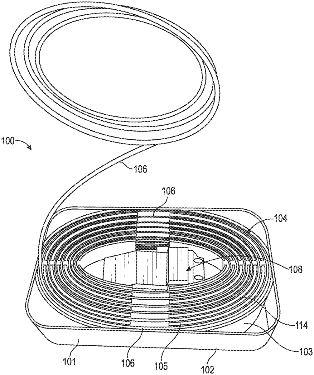
The shock tube coil system features a housing designed to store and dispense shock tubes through a series of concentric channels, allowing for adjustable lengths to be withdrawn as needed. Additionally, the system may include a detonator, igniter, and blasting cap holder, enhancing its utility for various applications.
Claim 1
- A shock tube coil system comprising: an open face housing comprising an outer wall extending continuously around an exterior of the open face housing; a first inner curved wall on a first side of the housing and a second inner curved wall on a second side of the housing, forming a center void therebetween; a first plurality of walls on a first side of the housing interposed between the first inner curved wall and the outer wall, and a second plurality of walls interposed between the second inner curved wall and the outer wall, the first plurality of walls and second plurality of walls forming a plurality of concentric channels; one or more flanges extending perpendicularly from each wall of the first and second plurality of walls to retain a shock tube within the concentric channels; a detonator positioned in the center void; an igniter coupled to the exterior of the housing; and a blasting cap holder coupled to the exterior of the housing. an open face housing comprising an outer wall extending continuously around an exterior of the open face housing; a first inner curved wall on a first side of the housing and a second inner curved wall on a second side of the housing, forming a center void therebetween; a first plurality of walls on a first side of the housing interposed between the first inner curved wall and the outer wall, and a second plurality of walls interposed between the second inner curved wall and the outer wall, the first plurality of walls and second plurality of walls forming a plurality of concentric channels; one or more flanges extending perpendicularly from each wall of the first and second plurality of walls to retain a shock tube within the concentric channels; a detonator positioned in the center void; an igniter coupled to the exterior of the housing; and a blasting cap holder coupled to the exterior of the housing.
Google Patents
https://patents.google.com/patent/US12312128
USPTO PDF
https://image-ppubs.uspto.gov/dirsearch-public/print/downloadPdf/12312128