US12313368 - Storage and loading system for large caliber ammunition

ammunitionmagazinefirearm
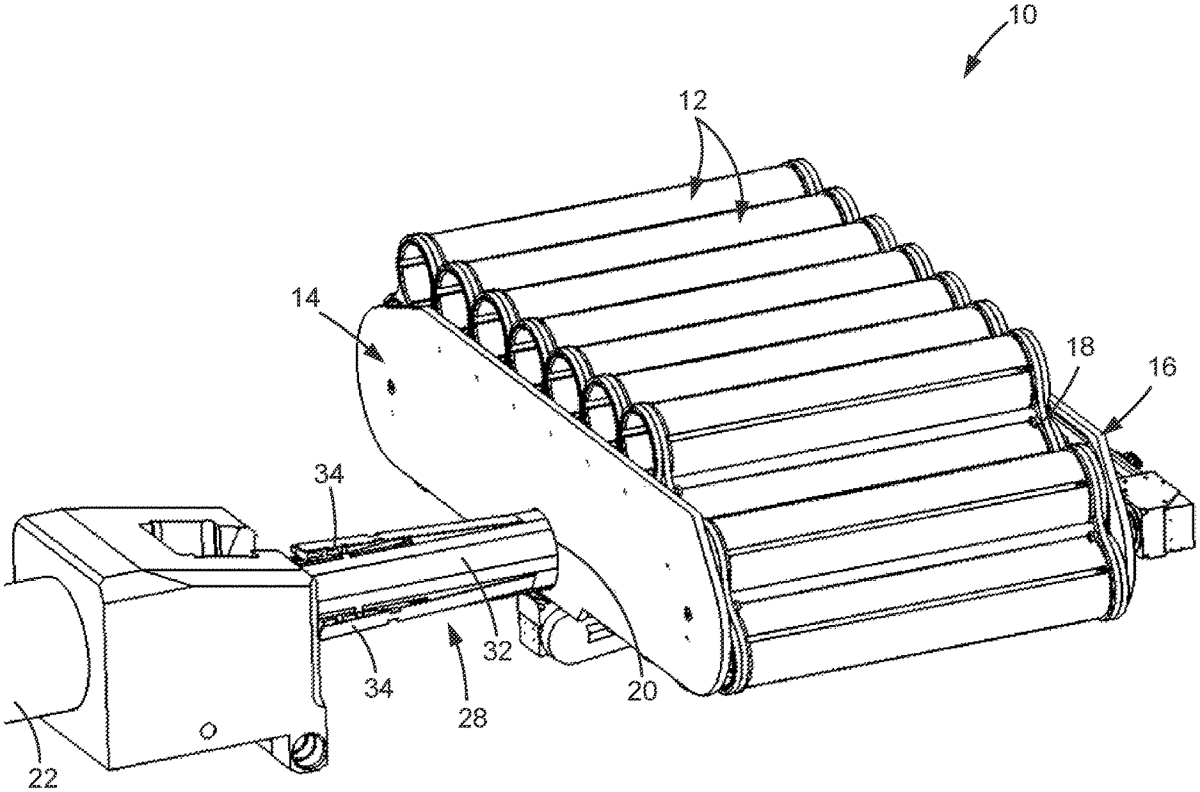
The patent describes a magazine designed for large caliber ammunition, featuring multiple holders that interface with individual rounds and an inner body that transitions to release the ammunition. Each holder is connected by links and includes a leaf spring to ensure proper engagement and release of the ammunition.
Claim 1
- A magazine for ammunition, the magazine comprising: a plurality of ammunition holders, each ammunition holder being configured to operatively interface with a single round of ammunition, each ammunition holder comprising: an outer body; and an inner body configured to interface with the single round of ammunition, the inner body being transitional relative to the outer body between a first position and a second position, the inner body extending out of the outer body as the inner body transitions from the first position toward the second position, the inner body being configured to release the single round of ammunition in response to the inner body being transitioned to the second position, each inner body including a main portion and at least one ammunition engagement portion moveable relative to the main portion to facilitate release of the single round of ammunition; a plurality of links, each link being coupled to a pair of the plurality of ammunition holders; and a leaf spring operatively coupled to a corresponding one of the at least one ammunition engagement portion to bias the at least one ammunition engagement portion in a prescribed direction. a plurality of ammunition holders, each ammunition holder being configured to operatively interface with a single round of ammunition, each ammunition holder comprising: an outer body; and an inner body configured to interface with the single round of ammunition, the inner body being transitional relative to the outer body between a first position and a second position, the inner body extending out of the outer body as the inner body transitions from the first position toward the second position, the inner body being configured to release the single round of ammunition in response to the inner body being transitioned to the second position, each inner body including a main portion and at least one ammunition engagement portion moveable relative to the main portion to facilitate release of the single round of ammunition; an outer body; and an inner body configured to interface with the single round of ammunition, the inner body being transitional relative to the outer body between a first position and a second position, the inner body extending out of the outer body as the inner body transitions from the first position toward the second position, the inner body being configured to release the single round of ammunition in response to the inner body being transitioned to the second position, each inner body including a main portion and at least one ammunition engagement portion moveable relative to the main portion to facilitate release of the single round of ammunition; a plurality of links, each link being coupled to a pair of the plurality of ammunition holders; and a leaf spring operatively coupled to a corresponding one of the at least one ammunition engagement portion to bias the at least one ammunition engagement portion in a prescribed direction.
Google Patents
https://patents.google.com/patent/US12313368
USPTO PDF
https://image-ppubs.uspto.gov/dirsearch-public/print/downloadPdf/12313368