US12313382 - Ballistic resistant wall structures

The patent describes a ballistic resistant panel system designed for integration into wall structures, featuring a ballistic resistant layer and an outer decorative or functional layer. This system includes a mount that allows for secure attachment to a wall and enables selective movement of the panel.
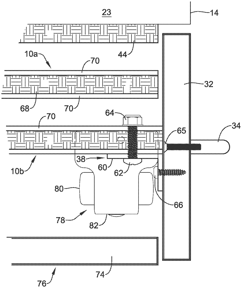
Claim 1
- A ballistic resistant panel system comprising: a panel, the panel comprising: a ballistic resistant layer; and an outer layer secured to at least one side of the ballistic resistant layer; an end panel secured to an end of the panel and configured to house the panel; and a mount connected to the panel and configured to secure the panel with respect to a wall system and facilitate selective movement of the panel relative to the wall system. a panel, the panel comprising: a ballistic resistant layer; and an outer layer secured to at least one side of the ballistic resistant layer; a ballistic resistant layer; and an outer layer secured to at least one side of the ballistic resistant layer; an end panel secured to an end of the panel and configured to house the panel; and a mount connected to the panel and configured to secure the panel with respect to a wall system and facilitate selective movement of the panel relative to the wall system.
Google Patents
https://patents.google.com/patent/US12313382
USPTO PDF
https://image-ppubs.uspto.gov/dirsearch-public/print/downloadPdf/12313382