US12313387 - Device and method for simulating a dynamic munition-related environment for a projectile, and simulation device-projectile assembly

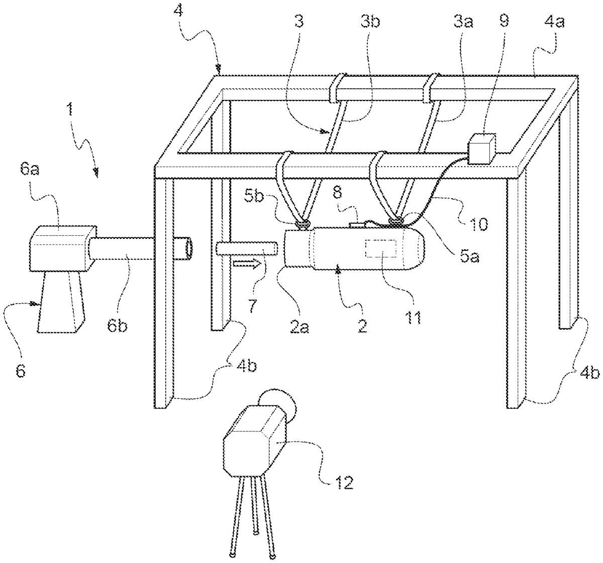
The patent describes a simulation device designed to replicate the dynamic environment experienced by a projectile upon exiting a firearm, utilizing a suspension system, a propulsion mechanism, and an impactor. This assembly allows for the controlled simulation of shock responses by striking the projectile at a predetermined velocity, mimicking the conditions of a real firing scenario.
Claim 1
- A simulation device of a dynamic munition-related environment for a projectile, wherein the simulation device comprises: a suspension device configured for suspending the projectile along the longitudinal direction of the projectile so that the projectile in the suspended position is mounted free along the longitudinal axis of the projectile projectile, a propulsion device configured for being arranged facing the rear end of the in the suspended position of the projectile at a predefined distance from the projectile, and an impactor configured for being propelled by the propulsion device, at a predetermined velocity toward the rear end of the projectile in the suspended position, so as to strike the rear end of the projectile so as to reproduce a shock response spectrum specific to an exit of the projectile from a muzzle. a suspension device configured for suspending the projectile along the longitudinal direction of the projectile so that the projectile in the suspended position is mounted free along the longitudinal axis of the projectile projectile, a propulsion device configured for being arranged facing the rear end of the in the suspended position of the projectile at a predefined distance from the projectile, and an impactor configured for being propelled by the propulsion device, at a predetermined velocity toward the rear end of the projectile in the suspended position, so as to strike the rear end of the projectile so as to reproduce a shock response spectrum specific to an exit of the projectile from a muzzle.
Google Patents
https://patents.google.com/patent/US12313387
USPTO PDF
https://image-ppubs.uspto.gov/dirsearch-public/print/downloadPdf/12313387