US12320203 - Electrical contact for perforating gun assembly

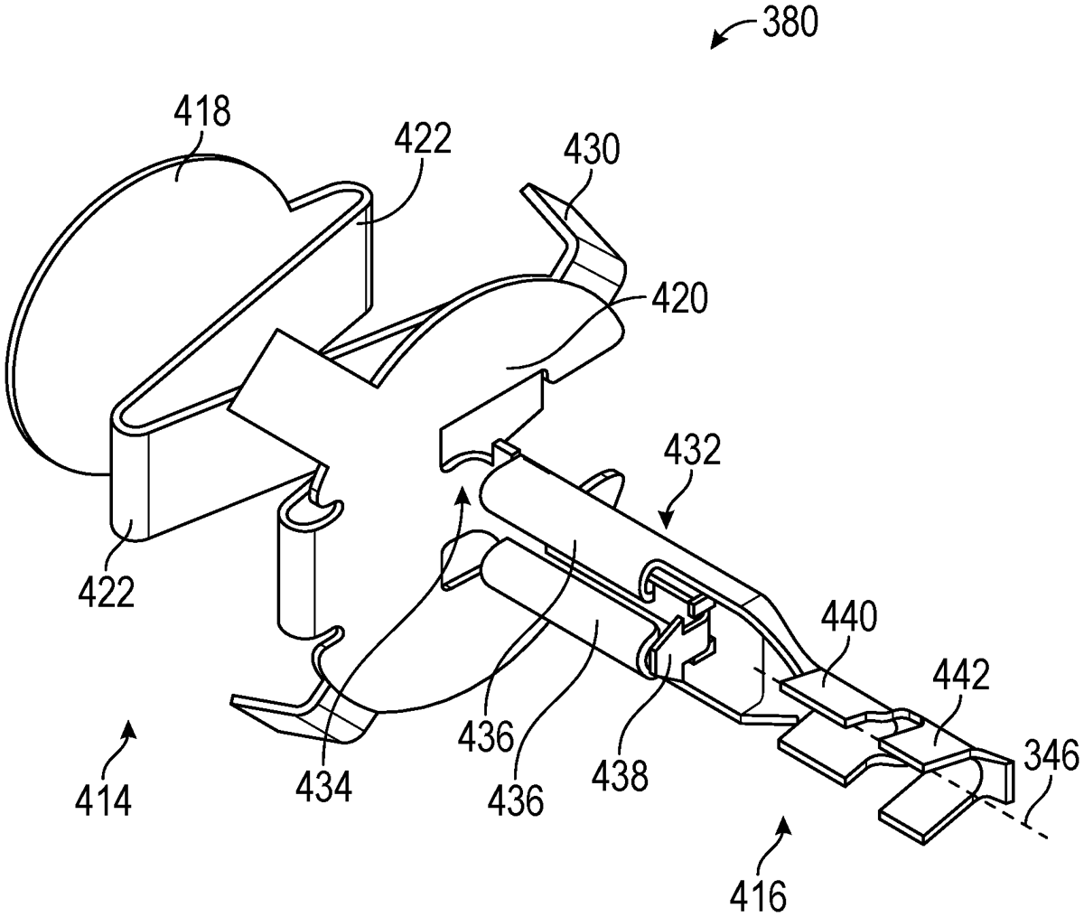
The patent describes an electrical contact designed for perforating gun assemblies, featuring a contact plate and support plate connected by multiple bends to absorb forces from a contact pin while maintaining signal integrity. Additionally, it includes exterior fins to ensure consistent axial contact with the pin, enhancing the reliability of detonating signal transmission through the assembly.
Claim 1
- An electrical contact comprising: a contact plate; a support plate; three or more bends disposed between the contact plate and the support plate to counteract a force applied to the contact plate when engaged by a contact pin, wherein the electrical contact is configured to convey a detonating signal through an electrical feedthrough extending through at least a bulkhead of two or more perforating guns, wherein the three or more bends comprise three or more folds that do not extend past a diameter of the support plate to keep the contact plate axially located during deformation from contact with the contact pin; and two or more exterior fins for maintaining axial contact with the contact pin, wherein the two or more exterior fins are disposed about the support plate, wherein an outer diameter of the support plate and the two or more exterior fins is greater than a longitudinal distance between two folds. a contact plate; a support plate; three or more bends disposed between the contact plate and the support plate to counteract a force applied to the contact plate when engaged by a contact pin, wherein the electrical contact is configured to convey a detonating signal through an electrical feedthrough extending through at least a bulkhead of two or more perforating guns, wherein the three or more bends comprise three or more folds that do not extend past a diameter of the support plate to keep the contact plate axially located during deformation from contact with the contact pin; and two or more exterior fins for maintaining axial contact with the contact pin, wherein the two or more exterior fins are disposed about the support plate, wherein an outer diameter of the support plate and the two or more exterior fins is greater than a longitudinal distance between two folds.
Google Patents
https://patents.google.com/patent/US12320203
USPTO PDF
https://image-ppubs.uspto.gov/dirsearch-public/print/downloadPdf/12320203