US12320608 - Bolt assembly for firearm

firearmboltblowback
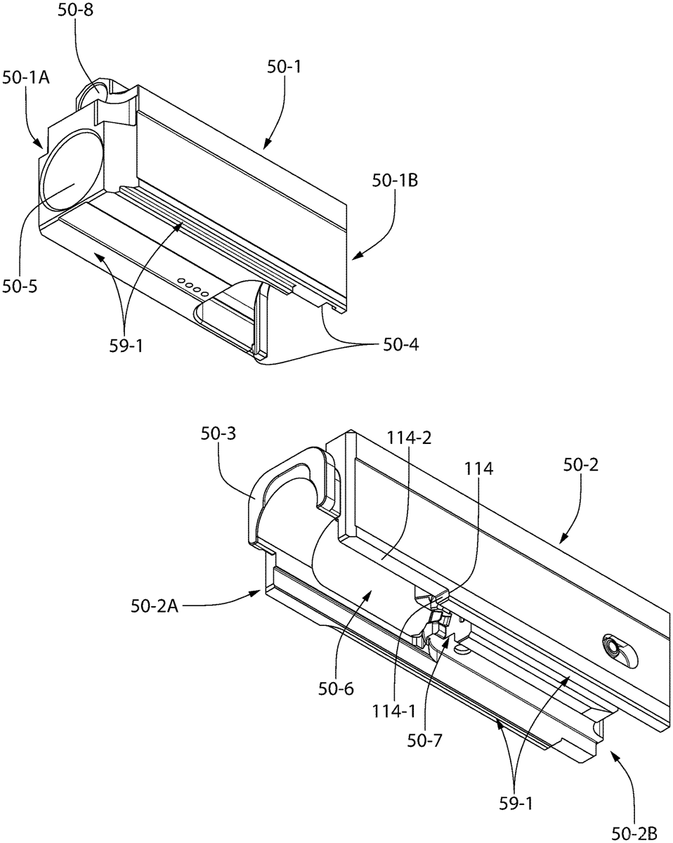
The patent describes a modular two-piece bolt assembly for blowback firearms that allows interchangeable front bolt pieces of varying mass to optimize performance based on ammunition energy. This design features a continuous longitudinal passage that accommodates the rear breech end of the barrel, effectively reducing the overall length of the firearm.
Claim 1
- A firearm with bolt assembly for a blowback operating system comprising: a longitudinal axis; a receiver defining an axially elongated internal cavity; a barrel supported by the receiver, the barrel defining an axial bore extending longitudinally from a rear breech end to a front muzzle end of the barrel; a bolt assembly slideably disposed in the cavity of the receiver, the bolt assembly axially movable between a forward closed breech position in battery with the rear breech end of the barrel and a rearward open breech position; a recoil spring biasing the bolt forward towards the closed breech position; the bolt assembly comprising a front bolt piece detachably coupled to a rear bolt piece; the front and rear bolt pieces each comprising a longitudinal passage coaxial with the longitudinal axis of the firearm, the longitudinal passage of the front bolt piece in communication with the longitudinal passage of the rear bolt piece to collectively form a continuous extended longitudinal passage; wherein a rear breech end of the barrel is disposed inside the extended longitudinal passage; wherein the longitudinal passages of the front and rear bolt pieces are formed internally in the front and rear bolt pieces; and wherein the recoil spring is a helical compression spring mounted on a guide rod which is slideably received inside an axial guide rod passage of the front bolt piece. a longitudinal axis; a receiver defining an axially elongated internal cavity; a barrel supported by the receiver, the barrel defining an axial bore extending longitudinally from a rear breech end to a front muzzle end of the barrel; a bolt assembly slideably disposed in the cavity of the receiver, the bolt assembly axially movable between a forward closed breech position in battery with the rear breech end of the barrel and a rearward open breech position; a recoil spring biasing the bolt forward towards the closed breech position; the bolt assembly comprising a front bolt piece detachably coupled to a rear bolt piece; the front and rear bolt pieces each comprising a longitudinal passage coaxial with the longitudinal axis of the firearm, the longitudinal passage of the front bolt piece in communication with the longitudinal passage of the rear bolt piece to collectively form a continuous extended longitudinal passage; wherein a rear breech end of the barrel is disposed inside the extended longitudinal passage; wherein the longitudinal passages of the front and rear bolt pieces are formed internally in the front and rear bolt pieces; and wherein the recoil spring is a helical compression spring mounted on a guide rod which is slideably received inside an axial guide rod passage of the front bolt piece.
Google Patents
https://patents.google.com/patent/US12320608
USPTO PDF
https://image-ppubs.uspto.gov/dirsearch-public/print/downloadPdf/12320608