US12320610 - Cover kit for firearm handguard

firearmhandguardaccessory
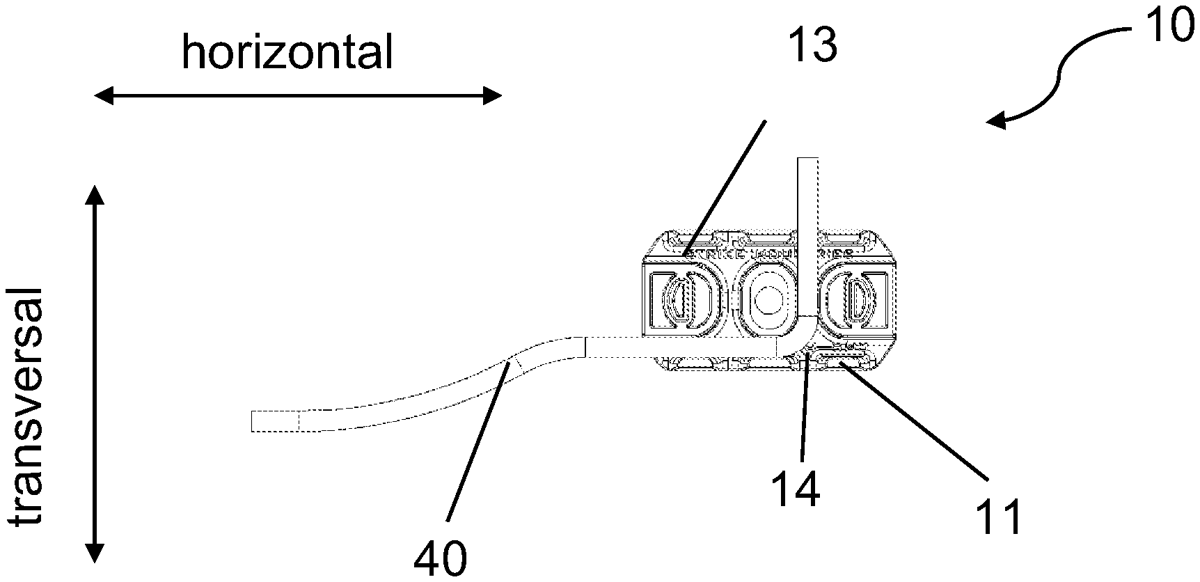
The patent describes a cover kit designed for firearm handguards with multiple slots, featuring a detachable cover body that secures to the handguard using a fastening mechanism. The cover includes a cable embedded within intersecting tunnels, enhancing its structural integrity and functionality.
Claim 1
- A cover kit for a firearm handguard having a plurality of slots, the cover kit comprising: a cover body having a bottom side detachably mounted on the firearm handguard; a cover body having a bottom side detachably mounted on the firearm handguard; fastening means for securing the cover body on the firearm handguard; a cable fastened between the bottom side of the cover body and the firearm handguard; a cable fastened between the bottom side of the cover body and the firearm handguard; wherein the bottom side comprises a plurality of first tunnels and a plurality of second tunnels intersected with the plurality of the first tunnels; wherein the cable is embedded in at least one of first tunnel and/or the second tunnels; the bottom side comprises a plurality of first tunnels and a plurality of second tunnels intersected with the plurality of the first tunnels; wherein the cable is embedded in at least one of first tunnel and/or the second tunnels; wherein the cover body comprises a locking hole formed on a center of the cover body; wherein the locking hole is encircled by the first tunnel and the second tunnel; wherein the fastening means comprises a screw passed through one of the pluralities of the slots and the locking hole and a nut positioned on an interior surface of the firearm handguard to engage with the screw; wherein the cover body and the firearm handguard are sandwiched between the screw and the nut to mount the cover body on one of the plurality of the slots of the firearm handguard. the cover body comprises a locking hole formed on a center of the cover body; wherein the locking hole is encircled by the first tunnel and the second tunnel; wherein the fastening means comprises a screw passed through one of the pluralities of the slots and the locking hole and a nut positioned on an interior surface of the firearm handguard to engage with the screw; wherein the cover body and the firearm handguard are sandwiched between the screw and the nut to mount the cover body on one of the plurality of the slots of the firearm handguard.
Google Patents
https://patents.google.com/patent/US12320610
USPTO PDF
https://image-ppubs.uspto.gov/dirsearch-public/print/downloadPdf/12320610