US12320615 - Sling slider element

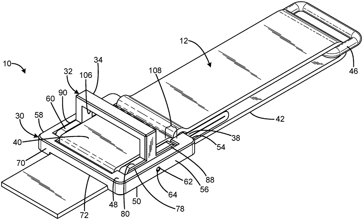
The patent describes a sling slider element featuring a frame with an aperture and a pivotally connected rotor that allows for the adjustment of a strap between engaged and disengaged positions. This design enables the strap to slide freely or be secured, providing versatility in positioning along the strap’s length.
Claim 1
- A sling having a slider element comprising: a frame defining an aperture; a rotor pivotally connected to the frame; the rotor received in the frame aperture; the frame and rotor defining first and second gaps spaced apart from each other and configured to receive a strap; the strap having a strap segment having end portions passing through the first and second gaps; the strap segment having a limited length extending directly between the first and second gaps; and the rotor movable with respect to the frame between a disengaged position in which the strap is free to slide with respect to the rotor and an engaged position in which the strap is engaged to the frame and rotor, such that the slider may be positioned at a range of different positions along the length of the strap. a rotor pivotally connected to the frame; the rotor received in the frame aperture; the frame and rotor defining first and second gaps spaced apart from each other and configured to receive a strap; the strap having a strap segment having end portions passing through the first and second gaps; the strap segment having a limited length extending directly between the first and second gaps; and the rotor movable with respect to the frame between a disengaged position in which the strap is free to slide with respect to the rotor and an engaged position in which the strap is engaged to the frame and rotor, such that the slider may be positioned at a range of different positions along the length of the strap.
Google Patents
https://patents.google.com/patent/US12320615
USPTO PDF
https://image-ppubs.uspto.gov/dirsearch-public/print/downloadPdf/12320615