US12320618 - Zoom sight

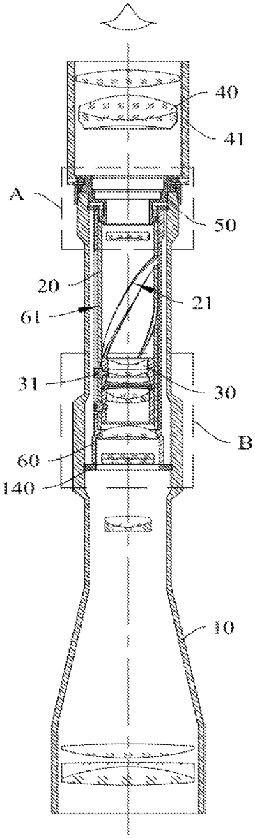
The patent describes a zoom sight that features a stable inner tube capable of circumferential rotation, which drives a zoom lens set to move axially. Additionally, a drive member ensures that the eyepiece set and inner tube maintain synchronous rotation for improved functionality.
Claim 1
- A zoom sight, comprising: a sight body; an inner tube provided in the sight body, and capable of making circumferential rotation around a central axis of the inner tube, an axial position of the inner tube relative to the sight body being stable; a zoom lens set provided in the inner tube, and linked with the inner tube, wherein the inner tube in the circumferential rotation drives the zoom lens set to move along an axial direction of the inner tube; an eyepiece set provided at an end of the sight body close to an eye side; and a drive member connected between the inner tube and the eyepiece set, the drive member, the eyepiece set, and the inner tube maintain synchronous circumferential rotation. a sight body; an inner tube provided in the sight body, and capable of making circumferential rotation around a central axis of the inner tube, an axial position of the inner tube relative to the sight body being stable; a zoom lens set provided in the inner tube, and linked with the inner tube, wherein the inner tube in the circumferential rotation drives the zoom lens set to move along an axial direction of the inner tube; an eyepiece set provided at an end of the sight body close to an eye side; and a drive member connected between the inner tube and the eyepiece set, the drive member, the eyepiece set, and the inner tube maintain synchronous circumferential rotation.
Google Patents
https://patents.google.com/patent/US12320618
USPTO PDF
https://image-ppubs.uspto.gov/dirsearch-public/print/downloadPdf/12320618