US12320620 - Method and back-up aiming control unit for operating a back-up aiming system for an artillery device, artillery device and vehicle

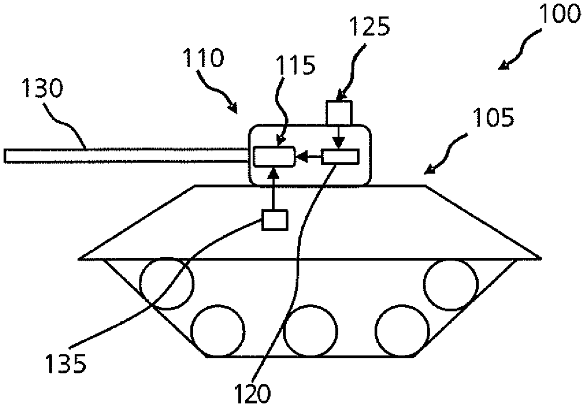
The patent describes a method for operating a back-up aiming system for artillery devices, which activates in the event of a failure of the main aiming system. It involves providing activation signals and reading setpoint signals to generate alignment signals that guide the back-up aiming drive unit in adjusting the artillery’s position.
Claim 1
- A method of operating a back-up aiming system for an artillery device having at least one back-up aiming drive unit and an artillery unit for a vehicle connected to the back-up aiming drive unit, the back-up aiming system being operated at least in the event of a failure of a main aiming system of the artillery device, the method comprising the steps of: providing an activation signal to an interface to a back-up aiming electronics unit, wherein the activation signal is configured to activate the back-up aiming system; reading a setpoint signal via an interface to a fire control computer to generate an alignment signal from the setpoint signal, the alignment signal providing the at least one back-up aiming drive unit with a setpoint speed and/or a setpoint torque with respect to a change of the artillery device; and outputting at least one alignment signal for aligning the at least one back-up aiming drive unit after the step of reading to align the artillery unit with the setpoint speed and/or the setpoint torque represented by the alignment signal at least during the failure of the main alignment system. providing an activation signal to an interface to a back-up aiming electronics unit, wherein the activation signal is configured to activate the back-up aiming system; reading a setpoint signal via an interface to a fire control computer to generate an alignment signal from the setpoint signal, the alignment signal providing the at least one back-up aiming drive unit with a setpoint speed and/or a setpoint torque with respect to a change of the artillery device; and outputting at least one alignment signal for aligning the at least one back-up aiming drive unit after the step of reading to align the artillery unit with the setpoint speed and/or the setpoint torque represented by the alignment signal at least during the failure of the main alignment system.
Google Patents
https://patents.google.com/patent/US12320620
USPTO PDF
https://image-ppubs.uspto.gov/dirsearch-public/print/downloadPdf/12320620