US12320623 - Fragmentation warhead and a method of manufacturing of a fragmentation warhead

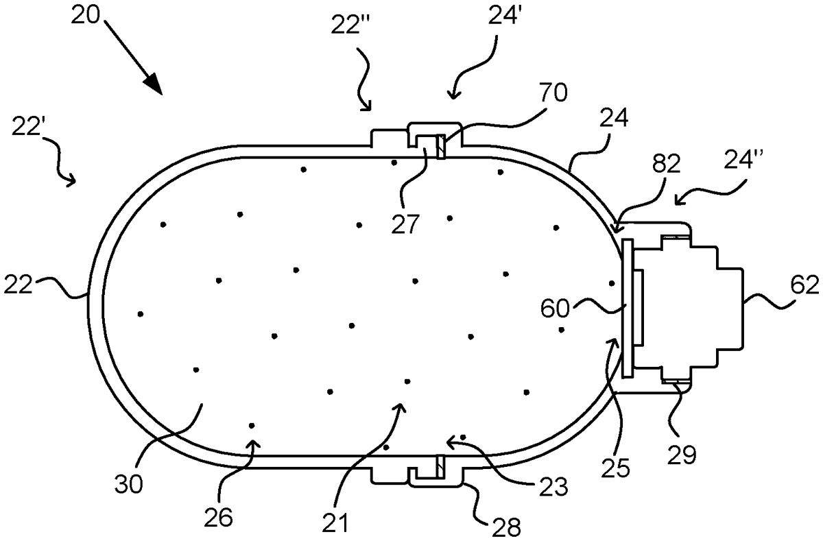
The patent describes a fragmentation warhead featuring a multi-layered casing structure that includes an inner casing for an explosive charge, a fragmentation casing, and an outer casing. The design incorporates a self-supported fragmentation casing with integrated metal elements and a rear inlet for filling the explosive charge, which is sealed by a disc after filling.
Claim 1
- A fragmentation warhead, comprising: an inner casing accommodating an explosive charge; a fragmentation casing at least partly surrounding the inner casing; and an outer casing arranged outside the inner casing and the fragmentation casing; wherein the inner casing comprises a front liner and a rear liner, which are connected to each other and wherein the fragmentation casing comprises a molded casing with integrated metal elements, wherein the fragmentation casing is a separate casing, which is self-supported, wherein the rear liner comprises a rear inlet for filling of the explosive charge and the warhead further comprises: a disc arranged to close said rear inlet when the inner casing is filled with the explosive charge. an inner casing accommodating an explosive charge; a fragmentation casing at least partly surrounding the inner casing; and an outer casing arranged outside the inner casing and the fragmentation casing; wherein the inner casing comprises a front liner and a rear liner, which are connected to each other and wherein the fragmentation casing comprises a molded casing with integrated metal elements, wherein the fragmentation casing is a separate casing, which is self-supported, wherein the rear liner comprises a rear inlet for filling of the explosive charge and the warhead further comprises: a disc arranged to close said rear inlet when the inner casing is filled with the explosive charge.
Google Patents
https://patents.google.com/patent/US12320623
USPTO PDF
https://image-ppubs.uspto.gov/dirsearch-public/print/downloadPdf/12320623