US12326069 - Perforating gun and alignment assembly

perforatingfirearmassembly
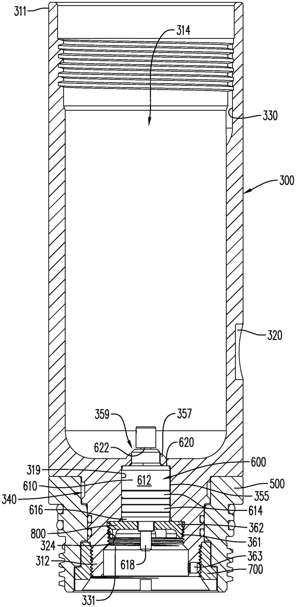
The patent describes a perforating gun and alignment assembly featuring a monolithic metal housing with a chamber and a rotatable alignment ring. The design includes specific threaded portions and a friction reduction feature to enhance functionality and efficiency during use.
Claim 1
- A perforating gun and alignment assembly comprising: a perforating gun housing formed from a singular and monolithic piece of metal material, the perforating gun housing comprising: a first housing end portion comprising an internal thread; a second housing end portion comprising a threaded end portion including an external thread, a friction reduction portion spaced apart from the threaded end portion, and a sealing portion extending between the threaded end portion and the friction reduction portion; and a chamber extending from the first housing end portion towards the second housing end portion, wherein the friction reduction portion comprises a channel positioned between a first protrusion and a second protrusion; an alignment assembly rotatably secured to the second end portion of the perforating gun housing, the alignment assembly comprising an alignment ring coupled to the second housing end portion; a gap extends between an inner surface of the alignment ring and an outer surface of the second end portion of the perforating gun housing; and a retention ring threadingly connected to the outer surface of the second housing end portion, wherein a portion of the retention ring is positioned in the gap. a perforating gun housing formed from a singular and monolithic piece of metal material, the perforating gun housing comprising: a first housing end portion comprising an internal thread; a second housing end portion comprising a threaded end portion including an external thread, a friction reduction portion spaced apart from the threaded end portion, and a sealing portion extending between the threaded end portion and the friction reduction portion; and a chamber extending from the first housing end portion towards the second housing end portion, wherein the friction reduction portion comprises a channel positioned between a first protrusion and a second protrusion; a first housing end portion comprising an internal thread; a second housing end portion comprising a threaded end portion including an external thread, a friction reduction portion spaced apart from the threaded end portion, and a sealing portion extending between the threaded end portion and the friction reduction portion; and a chamber extending from the first housing end portion towards the second housing end portion, wherein the friction reduction portion comprises a channel positioned between a first protrusion and a second protrusion; an alignment assembly rotatably secured to the second end portion of the perforating gun housing, the alignment assembly comprising an alignment ring coupled to the second housing end portion; a gap extends between an inner surface of the alignment ring and an outer surface of the second end portion of the perforating gun housing; and a retention ring threadingly connected to the outer surface of the second housing end portion, wherein a portion of the retention ring is positioned in the gap.
Google Patents
https://patents.google.com/patent/US12326069
USPTO PDF
https://image-ppubs.uspto.gov/dirsearch-public/print/downloadPdf/12326069