US12326308 - Detection of articles in a security zone using radio frequency identification tag embedded within the article

The patent describes a system for detecting firearms and metal articles using RFID tags embedded within the articles, which communicate with RFID interrogators to trigger security measures. The system features a slotted antenna and an ASIC chip for efficient wireless communication at approximately 10 GHz, allowing for the activation of alarms and other security responses upon detection.
Claim 1
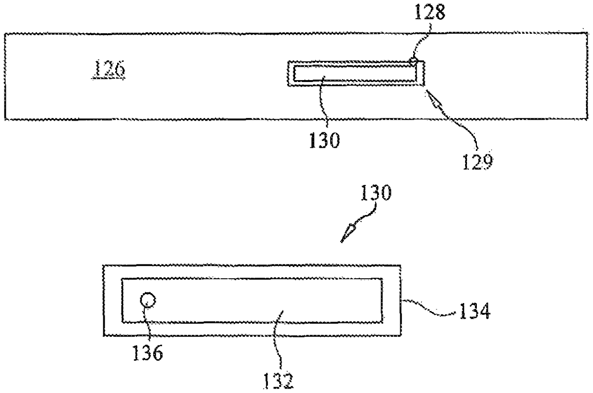
- A system for detecting an article in proximity to a security zone, said system comprising: an article having an external surface; a slotted aperture formed on said external surface; an RFID tag embedded within said article below said external surface, wherein said slotted aperture is disposed in overlaying relation with said RFID tag; an antenna assembly in electric communication with said RFID tag, said antenna assembly formed of a curved sheet of nickel-plated copper disposed in alignment with said slotted aperture; a plurality of RFID interrogators disposed in proximity to the security zone; said RFID tag enabled for wireless communication using said antenna assembly with said plurality of RFID interrogators at a frequency of approximately 10 Ghz; said RFID interrogators configured to intermittently emit interrogation signals in sequential order, thereby minimizing concentration of electromagnetic radiation associated with said interrogation signals; said antenna assembly receiving said interrogation signals and electrically communicating said interrogation signals to said RFID tag; said RFID tag harvesting electrical energy from at least one of said interrogation signals when disposed wireless communication range and generating a wireless response transmission to at least one of said plurality of RFID interrogators in response thereto; and said wireless response transmission to said at least one of said RFID interrogators triggering at least one security measure of said system in response to detection of said article. an article having an external surface; a slotted aperture formed on said external surface; an RFID tag embedded within said article below said external surface, wherein said slotted aperture is disposed in overlaying relation with said RFID tag; an antenna assembly in electric communication with said RFID tag, said antenna assembly formed of a curved sheet of nickel-plated copper disposed in alignment with said slotted aperture; a plurality of RFID interrogators disposed in proximity to the security zone; said RFID tag enabled for wireless communication using said antenna assembly with said plurality of RFID interrogators at a frequency of approximately 10 Ghz; said RFID interrogators configured to intermittently emit interrogation signals in sequential order, thereby minimizing concentration of electromagnetic radiation associated with said interrogation signals; said antenna assembly receiving said interrogation signals and electrically communicating said interrogation signals to said RFID tag; said RFID tag harvesting electrical energy from at least one of said interrogation signals when disposed wireless communication range and generating a wireless response transmission to at least one of said plurality of RFID interrogators in response thereto; and said wireless response transmission to said at least one of said RFID interrogators triggering at least one security measure of said system in response to detection of said article.
Google Patents
https://patents.google.com/patent/US12326308
USPTO PDF
https://image-ppubs.uspto.gov/dirsearch-public/print/downloadPdf/12326308