US12326317 - Crossbow reloading device

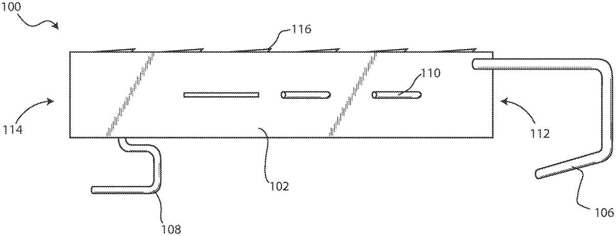
The patent describes a crossbow reloading device designed to securely hold a crossbow while it is being cocked, featuring upper and lower u-shaped retaining members and a strap for attachment to a support object like a tree. The device’s base includes ridges to enhance grip and prevent slipping during use, facilitating a safer and more efficient reloading process.
Claim 1
- A method for using a crossbow reloading device comprising: securing the crossbow reloading device to a support object, by using a strap, wherein the crossbow reloading device includes a base and the strap affixed to the base, a u-shaped upper retaining member and a u-shaped lower retaining member, the base comprises a plurality of ridges and the plurality of ridges are configured to provide grip or prevent slipping when the crossbow reloading device is strapped to a tree or other supporting object; placing a crossbow on one or more of the u-shaped upper retaining member and the u-shaped lower retaining member of the crossbow reloading device; applying pressure to a bowstring of the crossbow in order to cock it; and removing the crossbow from the crossbow reloading device; wherein the u-shaped upper retaining member is configured to hold the crossbow so that the crossbow is stabilized while the crossbow is cocked. securing the crossbow reloading device to a support object, by using a strap, wherein the crossbow reloading device includes a base and the strap affixed to the base, a u-shaped upper retaining member and a u-shaped lower retaining member, the base comprises a plurality of ridges and the plurality of ridges are configured to provide grip or prevent slipping when the crossbow reloading device is strapped to a tree or other supporting object; placing a crossbow on one or more of the u-shaped upper retaining member and the u-shaped lower retaining member of the crossbow reloading device; applying pressure to a bowstring of the crossbow in order to cock it; and removing the crossbow from the crossbow reloading device; wherein the u-shaped upper retaining member is configured to hold the crossbow so that the crossbow is stabilized while the crossbow is cocked.
Google Patents
https://patents.google.com/patent/US12326317
USPTO PDF
https://image-ppubs.uspto.gov/dirsearch-public/print/downloadPdf/12326317