US12326320 - Feed forward image based guidance

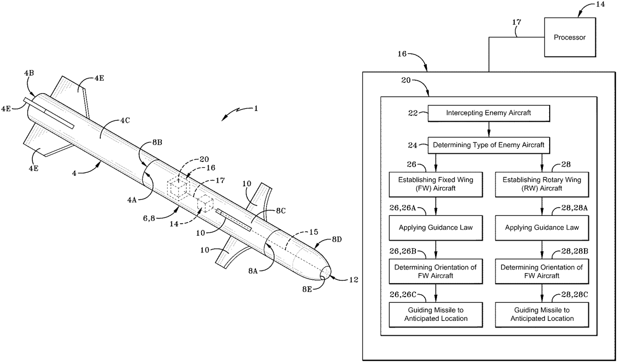
The patent describes a feed forward guidance kit for ballistic devices that utilizes an optical imaging sensor and a processor to predict the future position of an aircraft during combat. This system enhances targeting accuracy by calculating the anticipated position based on the aircraft’s changing orientation.
Claim 1
- A feed forward guidance kit for a ballistic device, the feed forward guidance kit comprising: at least one optical imaging sensor; a processor operatively in communication with the at least one optical imaging sensor; and a feed forward guidance protocol stored on a computer readable medium that is executable by the processor; wherein when the at least one optical imaging sensor initially intercepts an aircraft at an initial position, the processor accesses the feed forward guidance protocol to proactively calculate an anticipated second position of the aircraft as an orientation of the aircraft changes from an initial orientation to a second orientation and based on the type of aircraft intercepted by the optical imaging sensor. at least one optical imaging sensor; a processor operatively in communication with the at least one optical imaging sensor; and a feed forward guidance protocol stored on a computer readable medium that is executable by the processor; wherein when the at least one optical imaging sensor initially intercepts an aircraft at an initial position, the processor accesses the feed forward guidance protocol to proactively calculate an anticipated second position of the aircraft as an orientation of the aircraft changes from an initial orientation to a second orientation and based on the type of aircraft intercepted by the optical imaging sensor.
Google Patents
https://patents.google.com/patent/US12326320
USPTO PDF
https://image-ppubs.uspto.gov/dirsearch-public/print/downloadPdf/12326320