US12332008 - Firearm suppressor integrated with handguard

firearmsuppressorhandguard
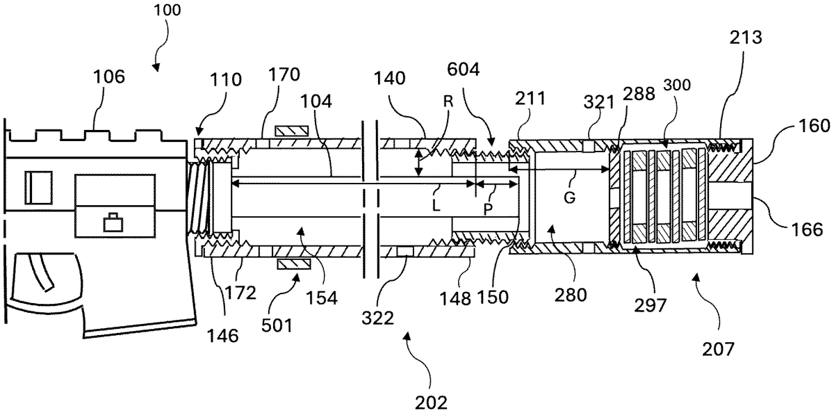
The patent describes a firearm suppressor that integrates with the handguard, featuring a tube that encloses the barrel and defines an expansion volume for propellant gases. It includes ports for gas venting, a noise suppression tube, and a baffle assembly to reduce noise while allowing the bullet to exit through a coaxial outlet.
Claim 1
- A suppressor assembly for a firearm having a receiver and a barrel connected to the receiver, the suppressor assembly comprising: a tube having a length defined between a first end and a second end of the tube, wherein the first end of the tube is adapted to be coupled to the receiver, wherein the tube is configured to be arranged around the barrel to define a radial gap therebetween, and wherein the radial gap and the length of the tube together are configured to define an expansion volume around the barrel; at least one port arranged proximate to the first end of the tube and extending radially through the tube; an adapter with a body and flange portion, wherein the adapter is configured to couple the first end of the tube to the receiver; a noise suppression tube having a first end and a second end, wherein the first end of the noise suppression tube is adapted to couple to the second end of the tube; an end cap coupled to the second end of the noise suppression tube, wherein the end cap defines an outlet opening adapted to be arranged coaxially to the barrel to facilitate an exit of a bullet from the tube; at least one orifice disposed proximate to the first end of the noise suppression tube and extending radially; and a shield baffle axially disposed between the first end and the second end of the noise suppression tube, wherein the shield baffle defines a preformed hole arranged coaxially to the noise suppression tube to facilitate passage of the bullet; wherein propellant gases generated during firing of the bullet exit a muzzle of the barrel, expand inside the expansion volume, and exit the tube through the at least one port; and wherein the tube is adapted to serve as a handguard for the firearm. a tube having a length defined between a first end and a second end of the tube, wherein the first end of the tube is adapted to be coupled to the receiver, wherein the tube is configured to be arranged around the barrel to define a radial gap therebetween, and wherein the radial gap and the length of the tube together are configured to define an expansion volume around the barrel; at least one port arranged proximate to the first end of the tube and extending radially through the tube; an adapter with a body and flange portion, wherein the adapter is configured to couple the first end of the tube to the receiver; a noise suppression tube having a first end and a second end, wherein the first end of the noise suppression tube is adapted to couple to the second end of the tube; an end cap coupled to the second end of the noise suppression tube, wherein the end cap defines an outlet opening adapted to be arranged coaxially to the barrel to facilitate an exit of a bullet from the tube; at least one orifice disposed proximate to the first end of the noise suppression tube and extending radially; and a shield baffle axially disposed between the first end and the second end of the noise suppression tube, wherein the shield baffle defines a preformed hole arranged coaxially to the noise suppression tube to facilitate passage of the bullet; wherein propellant gases generated during firing of the bullet exit a muzzle of the barrel, expand inside the expansion volume, and exit the tube through the at least one port; and wherein the tube is adapted to serve as a handguard for the firearm.
Google Patents
https://patents.google.com/patent/US12332008
USPTO PDF
https://image-ppubs.uspto.gov/dirsearch-public/print/downloadPdf/12332008