US12332022 - Optics mount and riser system for a firearm

firearmopticsmountaccessories
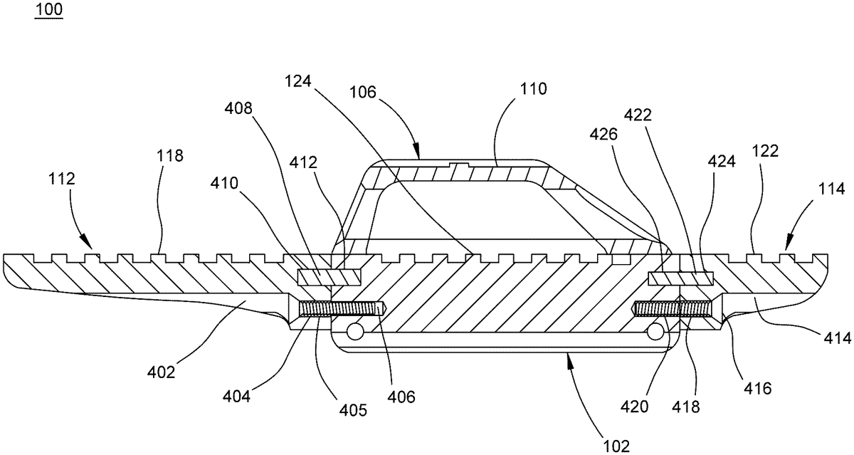
The patent describes a modular optics mount system for firearms that features a bridge portion designed to attach to the firearm’s top rail, allowing for the installation of various accessories such as optics risers and magnifier mounts. The system includes clamps for secure attachment and alignment mechanisms to ensure proper positioning of the accessories.
Claim 1
- An optics riser for a firearm, the firearm having a rail on a top of the firearm, comprising: a bridge portion having a front end and a rear end, the bridge portion having a top surface adjacent the front end and a top surface adjacent the rear end; at least one clamp that is configured to clamp the bridge portion to the rail of the firearm, the clamp having a first clamp member at a first side of the bridge portion and a second clamp member at a second side of the bridge portion opposing the first clamp member; and at at least one of the front end or the rear end there is a vertical face into which is formed a horizontal bore, the horizontal bore being positioned beneath the top surface and along a longitudinal axis from the front end to the rear end and between the first side of the bridge portion and the second side of the bridge portion. a bridge portion having a front end and a rear end, the bridge portion having a top surface adjacent the front end and a top surface adjacent the rear end; at least one clamp that is configured to clamp the bridge portion to the rail of the firearm, the clamp having a first clamp member at a first side of the bridge portion and a second clamp member at a second side of the bridge portion opposing the first clamp member; and at at least one of the front end or the rear end there is a vertical face into which is formed a horizontal bore, the horizontal bore being positioned beneath the top surface and along a longitudinal axis from the front end to the rear end and between the first side of the bridge portion and the second side of the bridge portion.
Google Patents
https://patents.google.com/patent/US12332022
USPTO PDF
https://image-ppubs.uspto.gov/dirsearch-public/print/downloadPdf/12332022