US12332026 - Device deterring movement of a detainee

The patent describes a device designed to deter the movement of a detainee by administering a nonlethal electric shock through conductive fabric, which can temporarily interfere with muscular locomotion. It incorporates a microprocessor, memory for operation control, and features such as video recording and GPS tracking capabilities.
Claim 1
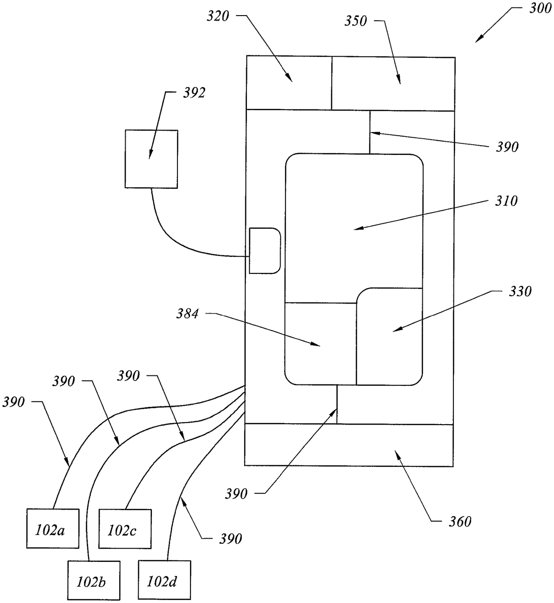
- A device deterring movement of a detainee comprising: a) a microprocessor embedded into a reusable, cleanable and conductive fabric; the microprocessor comprising a transceiver component; b) a memory in communication with the microprocessor; the memory holding software controlling operations of the device deterring movement of the detainee and data about activation/deactivation of the device deterring movement of the detainee, wherein the software and the microprocessor are adapted to: i) pair the microprocessor and memory with an operator’s video camera such that an event can be recorded; and/or ii) coordinate a global positioning system tracking with the device deterring movement of a detainee; and iii) control an electric shock to a portion of exposed skin of the detainee by causing one of the at least two electrodes, embedded in the reusable, cleanable and conductive fabric, to administer a nonlethal electric shock to the detainee, wherein the nonlethal electric shock: travels only through the detainee’s epidermis and dermis; is administered in ranges from about 210-380 volts, 0.5-1.5 amperes, charge levels of 84-125 microcoulombs and pulse durations between 105-115 microseconds; and interferes temporarily with muscular locomotion of the detainee; c) a rechargeable battery embedded into to the reusable, cleanable and conductive fabric; and d) circuitry interconnecting the transceiver component, the microprocessor, the memory, the rechargeable battery and the at least two electrodes. a) a microprocessor embedded into a reusable, cleanable and conductive fabric; the microprocessor comprising a transceiver component; b) a memory in communication with the microprocessor; the memory holding software controlling operations of the device deterring movement of the detainee and data about activation/deactivation of the device deterring movement of the detainee, wherein the software and the microprocessor are adapted to: i) pair the microprocessor and memory with an operator’s video camera such that an event can be recorded; and/or ii) coordinate a global positioning system tracking with the device deterring movement of a detainee; and iii) control an electric shock to a portion of exposed skin of the detainee by causing one of the at least two electrodes, embedded in the reusable, cleanable and conductive fabric, to administer a nonlethal electric shock to the detainee, wherein the nonlethal electric shock: travels only through the detainee’s epidermis and dermis; is administered in ranges from about 210-380 volts, 0.5-1.5 amperes, charge levels of 84-125 microcoulombs and pulse durations between 105-115 microseconds; and interferes temporarily with muscular locomotion of the detainee; i) pair the microprocessor and memory with an operator’s video camera such that an event can be recorded; and/or ii) coordinate a global positioning system tracking with the device deterring movement of a detainee; and iii) control an electric shock to a portion of exposed skin of the detainee by causing one of the at least two electrodes, embedded in the reusable, cleanable and conductive fabric, to administer a nonlethal electric shock to the detainee, wherein the nonlethal electric shock: travels only through the detainee’s epidermis and dermis; is administered in ranges from about 210-380 volts, 0.5-1.5 amperes, charge levels of 84-125 microcoulombs and pulse durations between 105-115 microseconds; and interferes temporarily with muscular locomotion of the detainee; travels only through the detainee’s epidermis and dermis; is administered in ranges from about 210-380 volts, 0.5-1.5 amperes, charge levels of 84-125 microcoulombs and pulse durations between 105-115 microseconds; and interferes temporarily with muscular locomotion of the detainee; c) a rechargeable battery embedded into to the reusable, cleanable and conductive fabric; and d) circuitry interconnecting the transceiver component, the microprocessor, the memory, the rechargeable battery and the at least two electrodes.
Google Patents
https://patents.google.com/patent/US12332026
USPTO PDF
https://image-ppubs.uspto.gov/dirsearch-public/print/downloadPdf/12332026