US12332029 - Wearable personal defense device

The invention is a wearable personal defense device designed for untrained or handicapped individuals, featuring a cartridge that ejects repellent contents when activated. It includes a strap for limb attachment, a protective housing, and a manual button actuator for user-triggered deployment.
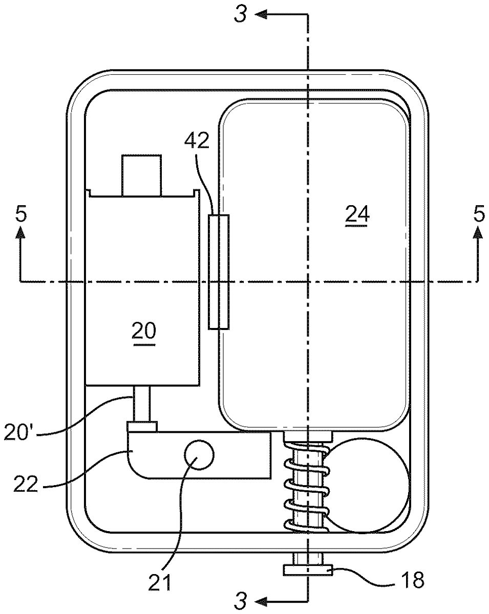
Claim 1
- A personal defense device comprising: (a) a main body to which a cartridge is removably mounted, the cartridge containing contents that repel humans and/or animals; (b) a strap mounted to the main body and configured for attachment to a human limb; (c) a housing removably mounted to the main body and extending over the cartridge; and (d) at least one actuator having at least one component drivingly linked to the cartridge for displacing the cartridge to contact a structure and eject at least some of the contents through a discharge orifice formed through at least one of the main body and the housing, wherein the at least one actuator is a manual button drivingly linked to the cartridge and configured to displace the cartridge upon displacement of the button. (a) a main body to which a cartridge is removably mounted, the cartridge containing contents that repel humans and/or animals; (b) a strap mounted to the main body and configured for attachment to a human limb; (c) a housing removably mounted to the main body and extending over the cartridge; and (d) at least one actuator having at least one component drivingly linked to the cartridge for displacing the cartridge to contact a structure and eject at least some of the contents through a discharge orifice formed through at least one of the main body and the housing, wherein the at least one actuator is a manual button drivingly linked to the cartridge and configured to displace the cartridge upon displacement of the button.
Google Patents
https://patents.google.com/patent/US12332029
USPTO PDF
https://image-ppubs.uspto.gov/dirsearch-public/print/downloadPdf/12332029