US12332034 - Initiator head with circuit board

The patent describes an initiator head for firearms that includes a housing, a circuit board, a line-in terminal, and a fuse, all designed to work together to activate the fuse upon receiving a control signal. The configuration allows for efficient electrical communication and activation within the initiator head’s structure.
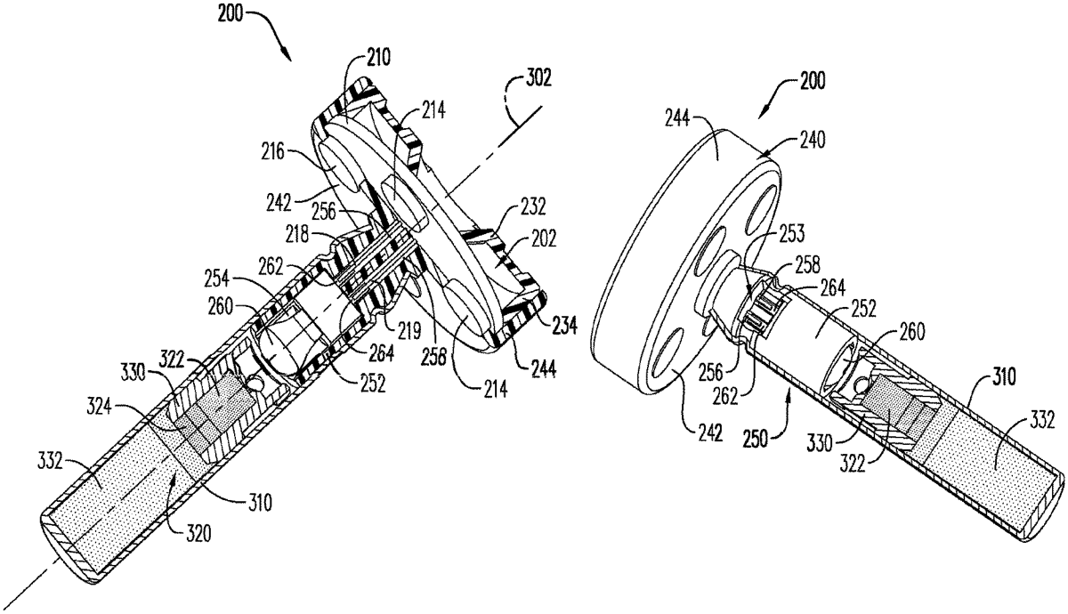
Claim 1
- An initiator head comprising: a housing extending in an axial direction; a circuit board provided in an interior space of the housing, a thickness direction of the circuit board being substantially parallel with the axial direction; a line-in terminal provided on a first side of the housing in the axial direction and accessible from an exterior of the housing, the line-in terminal being in electrical communication with the circuit board; and a fuse displaced from the circuit board in the axial direction, the fuse being in electrical communication with the circuit board; wherein the circuit board is configured to activate the fuse in response to a control signal received at the line-in terminal. a housing extending in an axial direction; a circuit board provided in an interior space of the housing, a thickness direction of the circuit board being substantially parallel with the axial direction; a line-in terminal provided on a first side of the housing in the axial direction and accessible from an exterior of the housing, the line-in terminal being in electrical communication with the circuit board; and a fuse displaced from the circuit board in the axial direction, the fuse being in electrical communication with the circuit board; wherein the circuit board is configured to activate the fuse in response to a control signal received at the line-in terminal.
Google Patents
https://patents.google.com/patent/US12332034
USPTO PDF
https://image-ppubs.uspto.gov/dirsearch-public/print/downloadPdf/12332034