US12332039 - Avalanche triggering apparatus

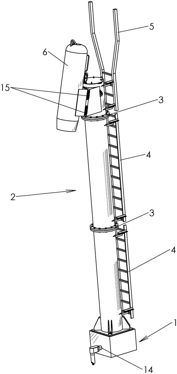
The avalanche triggering apparatus features a tower connected to a detonation chamber, which is designed to deliver fuel gas and oxidizer for combustion initiated by a spark plug. This system allows for remote control of gas flow, with the detonation chamber oriented to face a snow surface for effective avalanche triggering.
Claim 1
- An avalanche triggering apparatus comprising: (a) a tower having a first end, a second end, and a top part, the first end of the tower being connected to a base, and the top part of the tower being connected to a detonation chamber; (b) two gas supply lines that are configured to deliver fuel gas and an oxidizer to the detonation chamber; (c) a spark plug that is configured to initiate combustion of gases within the detonation chamber when activated by a flow switch; (d) a battery that is configured to provide electricity to the spark plug; and (e) means for controlling remotely a flow of gas through the gas supply lines; wherein the detonation chamber is connected to the tower via mounting brackets and a plurality of isolator springs; wherein the detonation chamber comprises a closed top end and an open bottom end; and wherein the open bottom end of the detonation chamber is configured to face a snow surface. (a) a tower having a first end, a second end, and a top part, the first end of the tower being connected to a base, and the top part of the tower being connected to a detonation chamber; (b) two gas supply lines that are configured to deliver fuel gas and an oxidizer to the detonation chamber; (c) a spark plug that is configured to initiate combustion of gases within the detonation chamber when activated by a flow switch; (d) a battery that is configured to provide electricity to the spark plug; and (e) means for controlling remotely a flow of gas through the gas supply lines; wherein the detonation chamber is connected to the tower via mounting brackets and a plurality of isolator springs; wherein the detonation chamber comprises a closed top end and an open bottom end; and wherein the open bottom end of the detonation chamber is configured to face a snow surface.
Google Patents
https://patents.google.com/patent/US12332039
USPTO PDF
https://image-ppubs.uspto.gov/dirsearch-public/print/downloadPdf/12332039