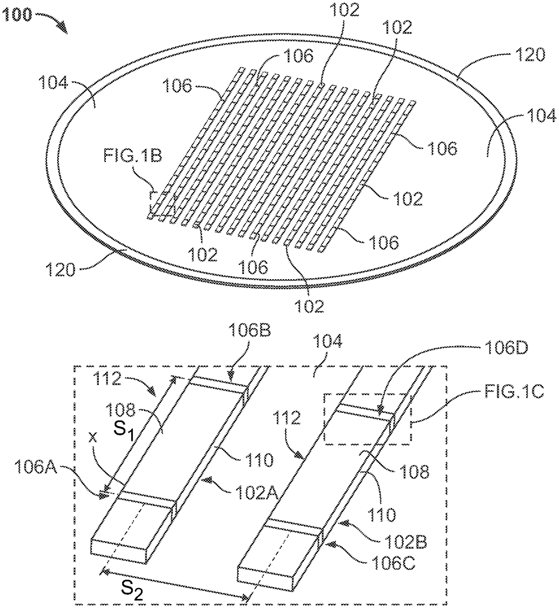
US12334638 - Low-profile passive reflectors for radar detection of road markings

This patent describes low-profile radar reflectors designed to reradiate signals from automotive radar when illuminated by vertically-polarized waves. The reflectors consist of a ground plane, a dielectric substrate, and multiple radiating elements that resonate to enhance signal reflection back to the radar.
Claim 1
- A low-profile radar reflector configured to reradiate when illuminated by a vertically-polarized incident wave generated by an automotive radar, the low-profile radar reflector comprising: a ground plane; a dielectric substrate including a top surface and a bottom surface opposing the top surface; and a plurality of radiating elements positioned on the dielectric substrate, each radiating element including opposing vertical metallic side segments connected to the ground plane, and a horizontal metallic segment extending between the opposing vertical metallic side segments and along the top surface of the dielectric substrate, wherein the horizontal metallic segment of said each radiating element has a defined length such that, when the radiating element is illuminated by the vertically-polarized incident wave from the automotive radar, each radiating element is at its resonance causing currents in the opposing vertical metallic side segments to flow in the same direction and reradiates back to the automotive radar. a ground plane; a dielectric substrate including a top surface and a bottom surface opposing the top surface; and a plurality of radiating elements positioned on the dielectric substrate, each radiating element including opposing vertical metallic side segments connected to the ground plane, and a horizontal metallic segment extending between the opposing vertical metallic side segments and along the top surface of the dielectric substrate, wherein the horizontal metallic segment of said each radiating element has a defined length such that, when the radiating element is illuminated by the vertically-polarized incident wave from the automotive radar, each radiating element is at its resonance causing currents in the opposing vertical metallic side segments to flow in the same direction and reradiates back to the automotive radar.
Google Patents
https://patents.google.com/patent/US12334638
USPTO PDF
https://image-ppubs.uspto.gov/dirsearch-public/print/downloadPdf/12334638