US12338717 - Downhole ignition assembly

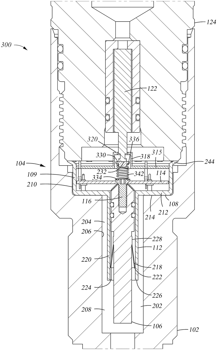
The patent describes a downhole ignition assembly featuring a switch container with a switch circuit oriented transversely to its longitudinal axis and an igniter in electrical contact within an ignition housing. This assembly allows for a ground pathway that bypasses the ignition housing, enhancing its functionality in downhole applications.
Claim 1
- A downhole ignition assembly, comprising: a switch container having a longitudinal axis, the switch container having a first portion that accommodates a switch circuit in an orientation transverse to the longitudinal axis, and a second portion that electrically contacts an igniter disposed in the second portion, the second portion disposed in an ignition housing, the first portion having a contact that makes electrical contact with a tool coupled to the downhole ignition assembly to provide a ground pathway that bypasses the ignition housing. a switch container having a longitudinal axis, the switch container having a first portion that accommodates a switch circuit in an orientation transverse to the longitudinal axis, and a second portion that electrically contacts an igniter disposed in the second portion, the second portion disposed in an ignition housing, the first portion having a contact that makes electrical contact with a tool coupled to the downhole ignition assembly to provide a ground pathway that bypasses the ignition housing.
Google Patents
https://patents.google.com/patent/US12338717
USPTO PDF
https://image-ppubs.uspto.gov/dirsearch-public/print/downloadPdf/12338717