US12339090 - Device for fixation of tension of resilient elements of a compound bow

The patent describes a device for fixing the tension of resilient elements in a compound bow, featuring an engagement device, a hitch lock, and a retainer stopper. This device allows the user to maintain desired tension in the bowstring while preventing unintended release during operation.
Claim 1
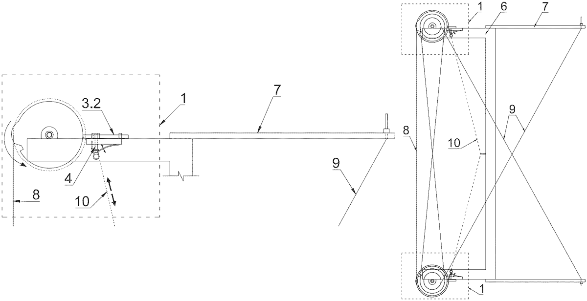
- A device for fixation of tension of resilient elements of a compound bow, the compound bow including: (i) a non-deformable bow body; (ii) one or more resilient elements having tension cables connected to ends thereof; (iii) a bowstring; and (iv) a block of pulleys, disposed at ends of the non-deformable bow body and adapted to tension the tension cables and/or the bowstring, the device comprising: an engagement device, formed as a disk fixed to the block of pulleys, the disk including a recess and protrusion adjacent one another and disposed at an edge of the disk; a hitch lock adapted to be installed at an end of the non-deformable bow body; and a retainer stopper, mounted onto an end of the non-deformable bow body, the retainer stopper configured to prevent motion of the hitch lock until released, wherein, when the block of pulleys is rotated in a first angular direction to tension the one or more resilient elements, the engagement device is configured to rotate together with the block of pulleys, so that the hitch lock is sequentially engaged within and released from the recess, and wherein, when a desired tension is stored in the one or more resilient elements, the block of pulleys begins rotating in an opposite angular direction, the hitch lock is configured to engage and remain caught within the recess to prevent further rotation of the block of pulleys, enabling a user to release the tension from the bowstring while the tension in the bowstring is held. an engagement device, formed as a disk fixed to the block of pulleys, the disk including a recess and protrusion adjacent one another and disposed at an edge of the disk; a hitch lock adapted to be installed at an end of the non-deformable bow body; and a retainer stopper, mounted onto an end of the non-deformable bow body, the retainer stopper configured to prevent motion of the hitch lock until released, wherein, when the block of pulleys is rotated in a first angular direction to tension the one or more resilient elements, the engagement device is configured to rotate together with the block of pulleys, so that the hitch lock is sequentially engaged within and released from the recess, and wherein, when a desired tension is stored in the one or more resilient elements, the block of pulleys begins rotating in an opposite angular direction, the hitch lock is configured to engage and remain caught within the recess to prevent further rotation of the block of pulleys, enabling a user to release the tension from the bowstring while the tension in the bowstring is held.
Google Patents
https://patents.google.com/patent/US12339090
USPTO PDF
https://image-ppubs.uspto.gov/dirsearch-public/print/downloadPdf/12339090