US12339097 - System and method of digital focal plane alignment for imager and weapon system sights

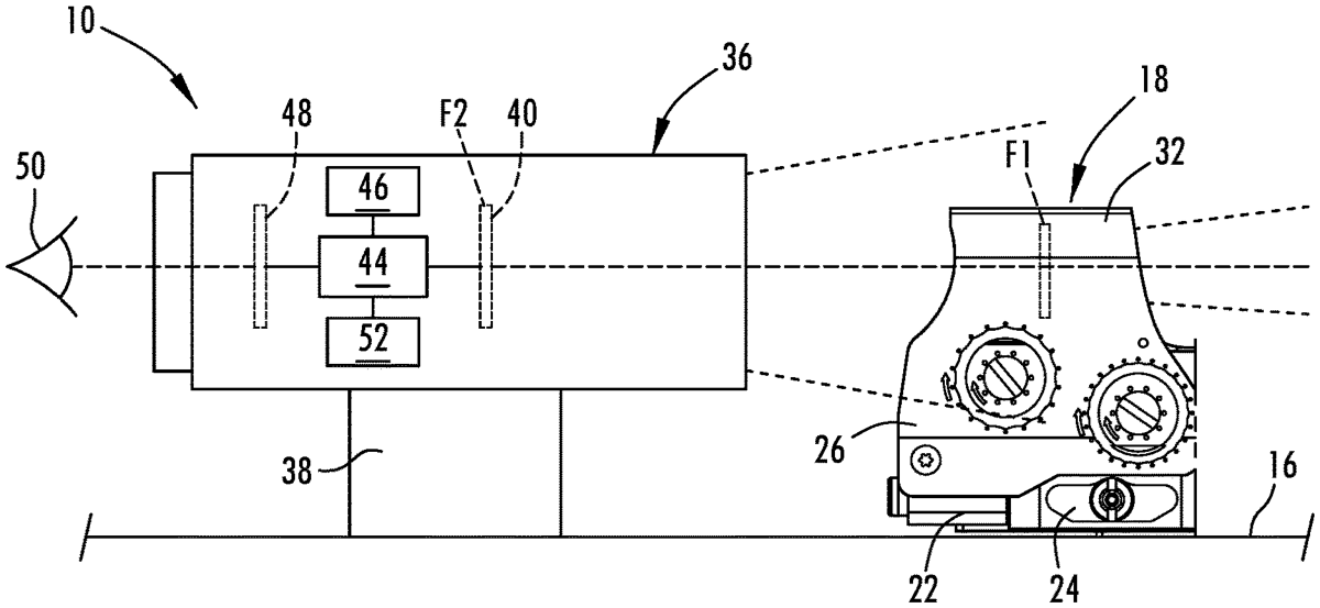
The patent describes a weapon system that integrates an optical sight and an optoelectronic device, allowing for the alignment of two focal planes through operator input. The system includes an image processor that generates a subset image from a specific region of a sensor array, which is then displayed to the operator for enhanced targeting accuracy.
Claim 1
- A weapon system comprising: an optical sight having a body configured to mount to a weapon, a frame coupled to the body and comprising a sight window configured to superimpose a reticle that is visible through the sight window in a first focal plane; an optoelectronic device comprising a mounting feature configured to mount to the weapon and an imager with a sensor array configured to receive light from an objective end of the optoelectronic device, wherein the objective end is configured to face the optical sight when the optoelectronic device is attached to the weapon; an image processor configured to receive image data captured by the sensor array and process the image data to generate a subset image that is received from a select region of the sensor array, wherein the select region of the sensor array defines a second focal plane; a controller configured to receive an input from an operator and, in response to the input, to select the select region of the sensor array for aligning the second focal plane with the first focal plane; and a display device configured to display the subset image to the operator of the weapon. an optical sight having a body configured to mount to a weapon, a frame coupled to the body and comprising a sight window configured to superimpose a reticle that is visible through the sight window in a first focal plane; an optoelectronic device comprising a mounting feature configured to mount to the weapon and an imager with a sensor array configured to receive light from an objective end of the optoelectronic device, wherein the objective end is configured to face the optical sight when the optoelectronic device is attached to the weapon; an image processor configured to receive image data captured by the sensor array and process the image data to generate a subset image that is received from a select region of the sensor array, wherein the select region of the sensor array defines a second focal plane; a controller configured to receive an input from an operator and, in response to the input, to select the select region of the sensor array for aligning the second focal plane with the first focal plane; and a display device configured to display the subset image to the operator of the weapon.
Google Patents
https://patents.google.com/patent/US12339097
USPTO PDF
https://image-ppubs.uspto.gov/dirsearch-public/print/downloadPdf/12339097