US12339104 - Aerosol self-defense spray canister container

The patent describes an aerosol self-defense spray canister container designed with a pistol grip housing that allows for secure handling and operation by the user. It features an aerosol dispenser that can be activated or locked using the user’s fingers, enhancing safety and ease of use.
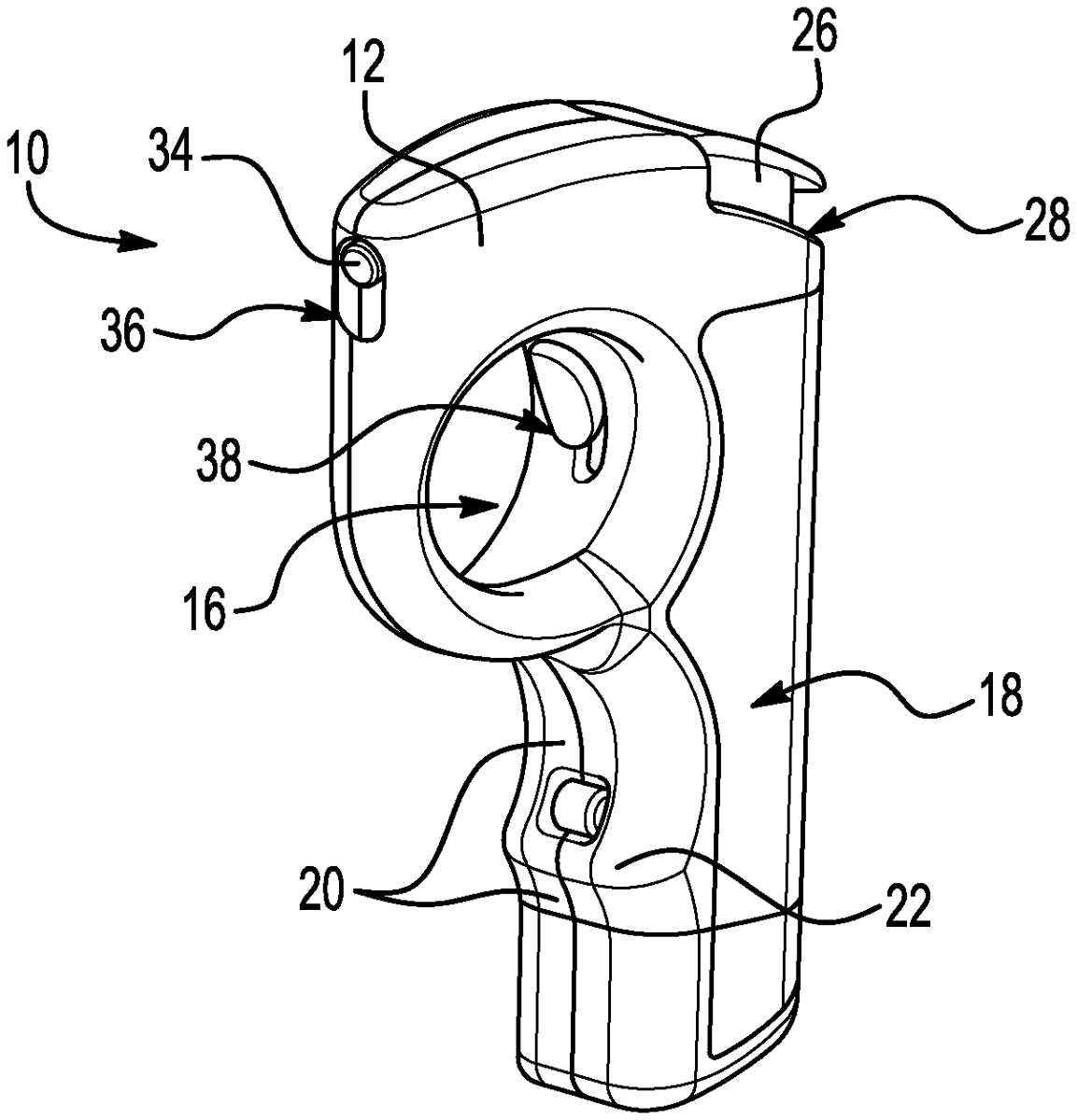
Claim 1
- An aerosol self-defense spray canister container comprising: a pistol grip shaped housing configured to house an aerosol self-defense spray canister, wherein the housing defines: a finger-receiving opening thorough which a user’s pointer finger can securely grasp the container for use, and a grip handle around which one or more of the user’s other fingers can grasp the container for use; an aerosol dispenser housed within the housing and actuatable from an outside of the housing by the user’s thumb, the aerosol dispenser being movable between an inactivated position and an activated position to selectively dispense an aerosol self-defense spray from the housed aerosol self-defense spray canister; and a lock operatively connected to the aerosol dispenser and configured to variably resist the aerosol dispenser from moving from the inactivated position to the activated position, the lock being actuatable by the user’s pointer finger from inside the finger-receiving opening. a pistol grip shaped housing configured to house an aerosol self-defense spray canister, wherein the housing defines: a finger-receiving opening thorough which a user’s pointer finger can securely grasp the container for use, and a grip handle around which one or more of the user’s other fingers can grasp the container for use; an aerosol dispenser housed within the housing and actuatable from an outside of the housing by the user’s thumb, the aerosol dispenser being movable between an inactivated position and an activated position to selectively dispense an aerosol self-defense spray from the housed aerosol self-defense spray canister; and a lock operatively connected to the aerosol dispenser and configured to variably resist the aerosol dispenser from moving from the inactivated position to the activated position, the lock being actuatable by the user’s pointer finger from inside the finger-receiving opening.
Google Patents
https://patents.google.com/patent/US12339104
USPTO PDF
https://image-ppubs.uspto.gov/dirsearch-public/print/downloadPdf/12339104