US12339108 - Sabot

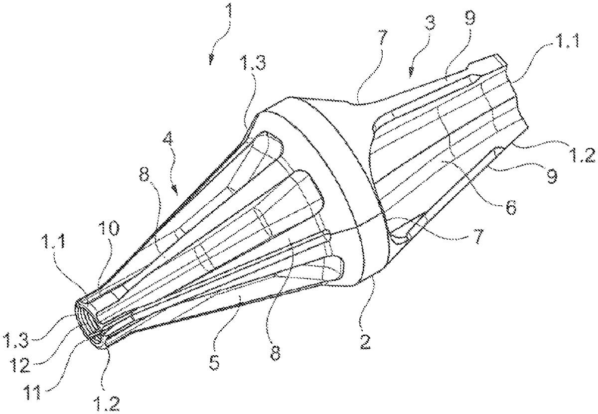
The patent describes a sabot composed of multiple segments designed with a low flexural rigidity at the rear end, allowing for a push-pull function during operation. The structure includes recesses and braces to optimize shape and weight, facilitating the rolling detachment of the sabot segments.
Claim 1
- A sabot having a push-pull function, comprising: a plurality of sabot segments adjacent in a circumferential direction, each of the plurality of sabot segments comprising: a front push-part; a rear pull-part; a pressure flange between the front push-part and the rear pull-part; a front end arranged in a shooting direction of the sabot; a rear end arranged opposite to the shooting direction, wherein the sabot and the plurality of sabot segments has a structural design at the rear end such that the sabot has a low flexural resistance, wherein the sabot has a cylindrical-shaped portion at the rear end such that the plurality of sabot segments are configured to roll during detachment, wherein the rear pull-part has a first proximal end proximal to the pressure flange and a second distal end distal from the pressure flange, the second distal end of the rear pull-part being disposed at the rear end of the sabot, the second distal end of the rear pull-part having a thinner wall thickness than the first proximal end of the rear pull-part, the second distal end of the rear pull-part having the thinner wall thickness forming the cylindrical-shaped portion, wherein the rear pull-part and the front push-part have recesses, the recesses extending along the rear pull-part from the pressure flange toward the rear end of the sabot and the recesses extending along the front push-part from the pressure flange toward the front end, which are open radially outwards, within the sabot segments, the recesses being delimited in the circumferential direction by struts extending in the shooting direction between the rear end and the pressure flange and between the front end and the pressure flange. a plurality of sabot segments adjacent in a circumferential direction, each of the plurality of sabot segments comprising: a front push-part; a rear pull-part; a pressure flange between the front push-part and the rear pull-part; a front end arranged in a shooting direction of the sabot; a rear end arranged opposite to the shooting direction, wherein the sabot and the plurality of sabot segments has a structural design at the rear end such that the sabot has a low flexural resistance, wherein the sabot has a cylindrical-shaped portion at the rear end such that the plurality of sabot segments are configured to roll during detachment, wherein the rear pull-part has a first proximal end proximal to the pressure flange and a second distal end distal from the pressure flange, the second distal end of the rear pull-part being disposed at the rear end of the sabot, the second distal end of the rear pull-part having a thinner wall thickness than the first proximal end of the rear pull-part, the second distal end of the rear pull-part having the thinner wall thickness forming the cylindrical-shaped portion, wherein the rear pull-part and the front push-part have recesses, the recesses extending along the rear pull-part from the pressure flange toward the rear end of the sabot and the recesses extending along the front push-part from the pressure flange toward the front end, which are open radially outwards, within the sabot segments, the recesses being delimited in the circumferential direction by struts extending in the shooting direction between the rear end and the pressure flange and between the front end and the pressure flange.
Google Patents
https://patents.google.com/patent/US12339108
USPTO PDF
https://image-ppubs.uspto.gov/dirsearch-public/print/downloadPdf/12339108