US12345400 - Deterrent device attachment having light source with thermal management

The patent describes a deterrent device attachment that incorporates a light-emitting thermal source and a support board designed to manage heat dissipation effectively. The assembly features a drive circuit that allows for controlled energization of the light source while minimizing heat transfer to the housing.
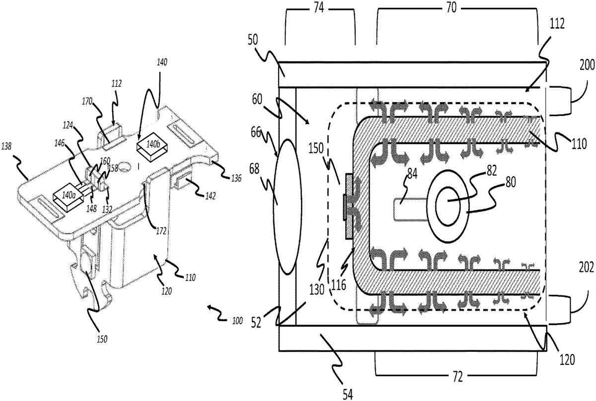
Claim 1
- A deterrent device attachment, comprising: a housing having an open area defined by area walls and an end wall having a segment through which light from a light source can pass; and an electronics assembly having: a support board positioned apart from the area walls to limit heat transfer from the support board to the area walls, a light source in contact with portions of the support board, wherein: the contact enables a heat transfer from a heated portion of the support board positioned in proximity to the light source to a first end portion and a second end portion of the support board, and the first end portion and the second end portion are configured to dissipate heat generated away from the light source, and a drive board on which a drive circuit is positioned, the drive circuit configured to controllably energize the light source. a housing having an open area defined by area walls and an end wall having a segment through which light from a light source can pass; and an electronics assembly having: a support board positioned apart from the area walls to limit heat transfer from the support board to the area walls, a light source in contact with portions of the support board, wherein: the contact enables a heat transfer from a heated portion of the support board positioned in proximity to the light source to a first end portion and a second end portion of the support board, and the first end portion and the second end portion are configured to dissipate heat generated away from the light source, and a drive board on which a drive circuit is positioned, the drive circuit configured to controllably energize the light source. a support board positioned apart from the area walls to limit heat transfer from the support board to the area walls, a light source in contact with portions of the support board, wherein: the contact enables a heat transfer from a heated portion of the support board positioned in proximity to the light source to a first end portion and a second end portion of the support board, and the first end portion and the second end portion are configured to dissipate heat generated away from the light source, and the contact enables a heat transfer from a heated portion of the support board positioned in proximity to the light source to a first end portion and a second end portion of the support board, and the first end portion and the second end portion are configured to dissipate heat generated away from the light source, and a drive board on which a drive circuit is positioned, the drive circuit configured to controllably energize the light source.
Google Patents
https://patents.google.com/patent/US12345400
USPTO PDF
https://image-ppubs.uspto.gov/dirsearch-public/print/downloadPdf/12345400