US12345486 - Firearm cartridge ejector

firearmcartridgeejectorammunition
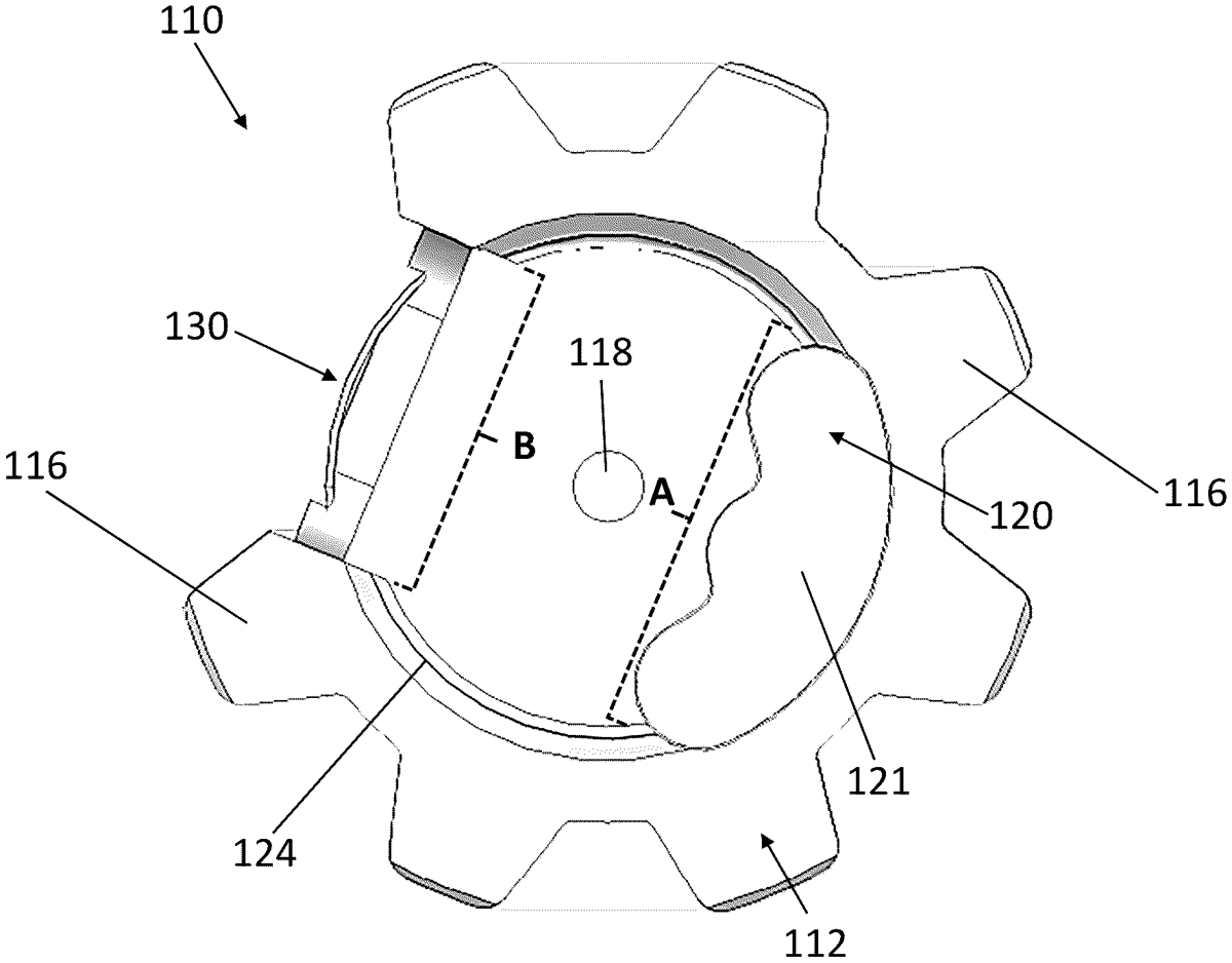
The patent describes a firearm cartridge ejector system that includes a bolt and a movably positioned ejector designed to effectively eject cartridges from the firearm. The ejector features a reniform-shaped face with a curvilinear protrusion to enhance its engagement with the cartridge during the ejection process.
Claim 1
- A firearm cartridge ejector system comprising: a bolt; and an ejector configured to eject a cartridge from a firearm bolt, wherein the ejector is movably positioned in the bolt, wherein the ejector further comprises a stem configured to engage the bolt, and an ejector face attached to the stem and configured to engage the cartridge, wherein the ejector face is reniform-shaped and comprising a curvilinear protrusion positioned at a midpoint between a first end of the ejector face and a second end of the ejector face. a bolt; and an ejector configured to eject a cartridge from a firearm bolt, wherein the ejector is movably positioned in the bolt, wherein the ejector further comprises a stem configured to engage the bolt, and an ejector face attached to the stem and configured to engage the cartridge, wherein the ejector face is reniform-shaped and comprising a curvilinear protrusion positioned at a midpoint between a first end of the ejector face and a second end of the ejector face.
Google Patents
https://patents.google.com/patent/US12345486
USPTO PDF
https://image-ppubs.uspto.gov/dirsearch-public/print/downloadPdf/12345486