US12345498 - Grenade device of a toy gun with an adjustable firing muzzle and an adjusting method thereof

The patent describes a grenade device for a toy gun that features an adjustable firing muzzle, allowing for the injection of multiple projectile bodies using pressurized fluid. It includes components such as a pressure chamber, projectile chamber, and a switch valve to control the flow of the pressurized fluid, enabling different configurations for projectile arrangement.
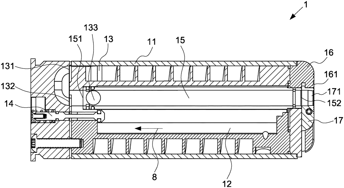
Claim 1
- A grenade device of a toy gun with an adjustable firing muzzle comprising: a case ( 11 ); a pressure chamber ( 12 ), located in the case ( 11 ) and receiving a pressurized fluid ( 8 ); a projectile chamber ( 13 ), located in the case ( 11 ), loaded a plurality of projectile bodies ( 133 ) in, and having a pressure inlet ( 131 ) and a pressure outlet ( 132 ); a switch valve ( 14 ), located in between the pressure chamber ( 12 ) and the pressure inlet ( 131 ), wherein the switch valve ( 14 ) is located in a staring position, in order to guide the pressurized fluid ( 8 ) from the pressure chamber ( 12 ) to the projectile chamber ( 13 ); a launch tube ( 15 / 15 a ), having a first end ( 151 ) and a second end ( 152 ), the first end ( 151 ) being connected with the pressure outlet ( 132 ), wherein the launch tube ( 15 / 15 a ) cooperates with the pressure chamber ( 12 ) and the pressurized fluid 8 to inject the projectile bodies ( 133 ); an outer cover ( 16 / 16 a ), being connected with a side of the case ( 11 ), having an opening ( 161 / 161 a ), which is adjacent to the second end ( 152 ) of the launch tube ( 15 / 15 a ); and a switch cover ( 17 / 17 a ), having a through hole ( 171 ) and located at a first position ( 21 / 21 a ) or a second position ( 22 ); wherein the plurality of the projectile bodies ( 133 ) projected by the launch tube ( 15 / 15 a ) are arranged into a first status ( 31 ) if the switch cover ( 17 / 17 a ) is at the first position ( 21 ) and the opening ( 161 / 161 a ) is close to the through hole ( 171 ), and the plurality of the projectile bodies ( 133 ) projected by the launch tube ( 15 / 15 a ) are arranged into a second status ( 32 ) if the switch cover ( 17 / 17 a ) is at the second position ( 22 ) and the opening ( 161 / 161 a ) is separated from the through hole ( 171 ). a case ( 11 ); a pressure chamber ( 12 ), located in the case ( 11 ) and receiving a pressurized fluid ( 8 ); a projectile chamber ( 13 ), located in the case ( 11 ), loaded a plurality of projectile bodies ( 133 ) in, and having a pressure inlet ( 131 ) and a pressure outlet ( 132 ); a switch valve ( 14 ), located in between the pressure chamber ( 12 ) and the pressure inlet ( 131 ), wherein the switch valve ( 14 ) is located in a staring position, in order to guide the pressurized fluid ( 8 ) from the pressure chamber ( 12 ) to the projectile chamber ( 13 ); a launch tube ( 15 / 15 a ), having a first end ( 151 ) and a second end ( 152 ), the first end ( 151 ) being connected with the pressure outlet ( 132 ), wherein the launch tube ( 15 / 15 a ) cooperates with the pressure chamber ( 12 ) and the pressurized fluid 8 to inject the projectile bodies ( 133 ); an outer cover ( 16 / 16 a ), being connected with a side of the case ( 11 ), having an opening ( 161 / 161 a ), which is adjacent to the second end ( 152 ) of the launch tube ( 15 / 15 a ); and a switch cover ( 17 / 17 a ), having a through hole ( 171 ) and located at a first position ( 21 / 21 a ) or a second position ( 22 ); wherein the plurality of the projectile bodies ( 133 ) projected by the launch tube ( 15 / 15 a ) are arranged into a first status ( 31 ) if the switch cover ( 17 / 17 a ) is at the first position ( 21 ) and the opening ( 161 / 161 a ) is close to the through hole ( 171 ), and the plurality of the projectile bodies ( 133 ) projected by the launch tube ( 15 / 15 a ) are arranged into a second status ( 32 ) if the switch cover ( 17 / 17 a ) is at the second position ( 22 ) and the opening ( 161 / 161 a ) is separated from the through hole ( 171 ).
Google Patents
https://patents.google.com/patent/US12345498
USPTO PDF
https://image-ppubs.uspto.gov/dirsearch-public/print/downloadPdf/12345498