US12345513 - Projectile control actuation system and method of steering a projectile

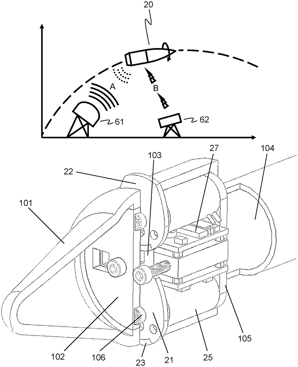
The patent describes a guidance system for projectiles that utilizes spinning disks with flow-effecting spoilers to provide steering forces by deploying the spoilers at specific angles of spin. This system includes sensors and a controller to adjust the steering based on the projectile’s spin frequency and orientation, and it is designed as a modular fuze kit that can be attached to various projectiles.
Claim 1
- A guidance system for a projectile comprising: at least one spinning disk having an axle, the spinning disk comprising or being asymmetrically shaped to comprise at least one flow-effecting spoiler, the axle of the spinning disk being positioned within a projectile such that, by the rotation of the spinning disk, the spoiler is adapted to deploy so as to protrude from an outer surface of the projectile only for some angles of spin of the spinning disk so as to exert a steering force and/or moment on the projectile; at least one sensor having a signal corresponding to a measurement of spin frequency and/or spin orientation of the projectile; and a controller adapted to adjust the steering force and/or moment on the projectile based at least in part on the signal of the at least one sensor, wherein the at least one spinning disk, the at least one sensor and the controller are comprised in a modular fuze kit adapted to be attached to a projectile. at least one spinning disk having an axle, the spinning disk comprising or being asymmetrically shaped to comprise at least one flow-effecting spoiler, the axle of the spinning disk being positioned within a projectile such that, by the rotation of the spinning disk, the spoiler is adapted to deploy so as to protrude from an outer surface of the projectile only for some angles of spin of the spinning disk so as to exert a steering force and/or moment on the projectile; at least one sensor having a signal corresponding to a measurement of spin frequency and/or spin orientation of the projectile; and a controller adapted to adjust the steering force and/or moment on the projectile based at least in part on the signal of the at least one sensor, wherein the at least one spinning disk, the at least one sensor and the controller are comprised in a modular fuze kit adapted to be attached to a projectile.
Google Patents
https://patents.google.com/patent/US12345513
USPTO PDF
https://image-ppubs.uspto.gov/dirsearch-public/print/downloadPdf/12345513