US12349755 - Helmet rim lighting system for protective headgear

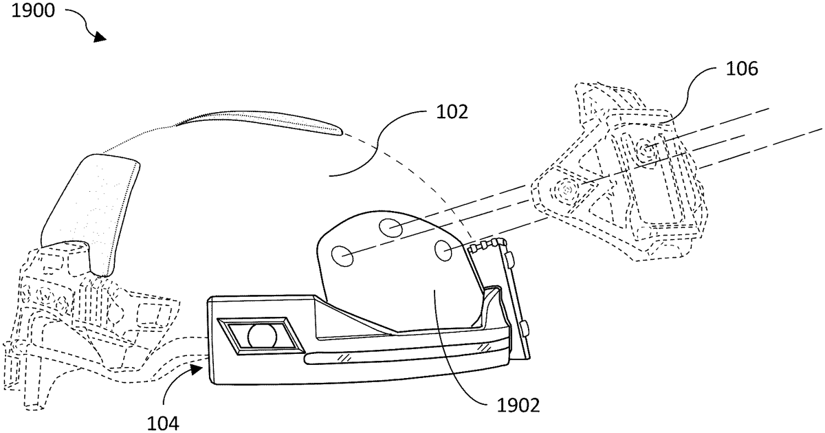
The patent describes a helmet rim lighting system that attaches to the rim of a helmet and produces both forward and downward light using integrated light sources within a waterproof housing. The system allows for independent activation of the lights and includes a mechanism that fits between a night vision goggle mount and the helmet’s surface.
Claim 1
- A helmet rim lighting system comprising: a helmet attach mechanism configured to attach to the rim of a helmet, a housing that holds electronics and when the helmet attach mechanism is attached to the rim of the helmet, is configured to produce forward light rays and is configured to produce downward light rays, where: the forward light rays originate from at least one forward-facing light source, where the at least one forward-facing light source that is fully contained inside the housing, the downward light rays originate from at least one downward-facing light source, where the at least one downward-facing light source that is fully contained inside the housing, and the helmet attachment mechanism has a thin extension configured to be sandwiched between a mounting surface of a night vision goggle mount and an outer surface of the helmet when the night vision goggle mount is bolted to the helmet using night vision goggle mount holes of the helmet. a helmet attach mechanism configured to attach to the rim of a helmet, a housing that holds electronics and when the helmet attach mechanism is attached to the rim of the helmet, is configured to produce forward light rays and is configured to produce downward light rays, where: where: the forward light rays originate from at least one forward-facing light source, where the at least one forward-facing light source that is fully contained inside the housing, the downward light rays originate from at least one downward-facing light source, where the at least one downward-facing light source that is fully contained inside the housing, and the downward light rays originate from at least one downward-facing light source, where the at least one downward-facing light source that is fully contained inside the housing, and the helmet attachment mechanism has a thin extension configured to be sandwiched between a mounting surface of a night vision goggle mount and an outer surface of the helmet when the night vision goggle mount is bolted to the helmet using night vision goggle mount holes of the helmet.
Google Patents
https://patents.google.com/patent/US12349755
USPTO PDF
https://image-ppubs.uspto.gov/dirsearch-public/print/downloadPdf/12349755