US12352526 - Bowmar nose button

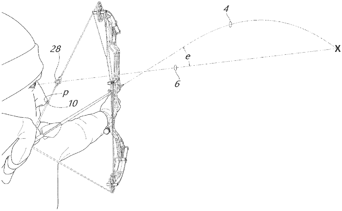
The Bowmar nose button is an aiming system for archery bows that features a tube with a longitudinal slit designed to engage the bow string. It includes a projection with a curved surface and a frustum shape to enhance aiming accuracy.
Claim 1
- A system for aiming an archery bow comprising: a tube defining a longitudinal axis and comprising a longitudinal slit, wherein the tube and the longitudinal slit are configured to engage an archery bow string along the longitudinal axis of the tube, wherein a portion of the tube further comprises a projection, wherein the projection comprises a curved surface, and wherein the projection comprises a frustum. a tube defining a longitudinal axis and comprising a longitudinal slit, wherein the tube and the longitudinal slit are configured to engage an archery bow string along the longitudinal axis of the tube, wherein a portion of the tube further comprises a projection, wherein the projection comprises a curved surface, and wherein the projection comprises a frustum.
Google Patents
https://patents.google.com/patent/US12352526
USPTO PDF
https://image-ppubs.uspto.gov/dirsearch-public/print/downloadPdf/12352526