US12352529 - Holster, holster accessory, and related methods

holsterfirearmaccessory
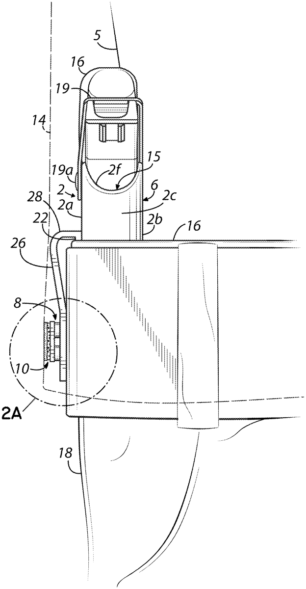
The patent describes a firearm holster designed to be worn under a shirt, featuring a magnetic coupling mechanism that allows the holster to attach securely to the wearer’s clothing. This holster includes a restraining feature to prevent sliding movement between the magnetic elements, ensuring stability while carrying the firearm.
Claim 1
- A firearm holster for a person wearing a shirt hanging down over that person’s waist area, comprising: a holster body including a plurality of walls defining an encasement for the firearm and an opening for inserting the firearm into said encasement, said plurality of walls including an interior wall and an exterior wall disposed opposite said interior wall; a first magnetic element disposed on said holster body; a second magnetic element configured to cooperate with said first magnetic element to magnetically engage said first and second magnetic elements with one another, said second magnetic element being configured to be magnetically coupled to said first magnetic element through a portion of the shirt being worn by the person with the shirt hanging down over that person’s waist area; and a restraining feature at the interface between said first and second magnetic elements and configured to hinder sliding movement of the first and second magnetic elements relative to one another when said first and second magnetic elements are magnetically coupled through the portion of the shirt being worn by the person, wherein said holster body includes a holster belt clip configured for mounting the firearm holster over a belt. a holster body including a plurality of walls defining an encasement for the firearm and an opening for inserting the firearm into said encasement, said plurality of walls including an interior wall and an exterior wall disposed opposite said interior wall; a first magnetic element disposed on said holster body; a second magnetic element configured to cooperate with said first magnetic element to magnetically engage said first and second magnetic elements with one another, said second magnetic element being configured to be magnetically coupled to said first magnetic element through a portion of the shirt being worn by the person with the shirt hanging down over that person’s waist area; and a restraining feature at the interface between said first and second magnetic elements and configured to hinder sliding movement of the first and second magnetic elements relative to one another when said first and second magnetic elements are magnetically coupled through the portion of the shirt being worn by the person, wherein said holster body includes a holster belt clip configured for mounting the firearm holster over a belt.
Google Patents
https://patents.google.com/patent/US12352529
USPTO PDF
https://image-ppubs.uspto.gov/dirsearch-public/print/downloadPdf/12352529