US12352539 - Aircraft wall assembly

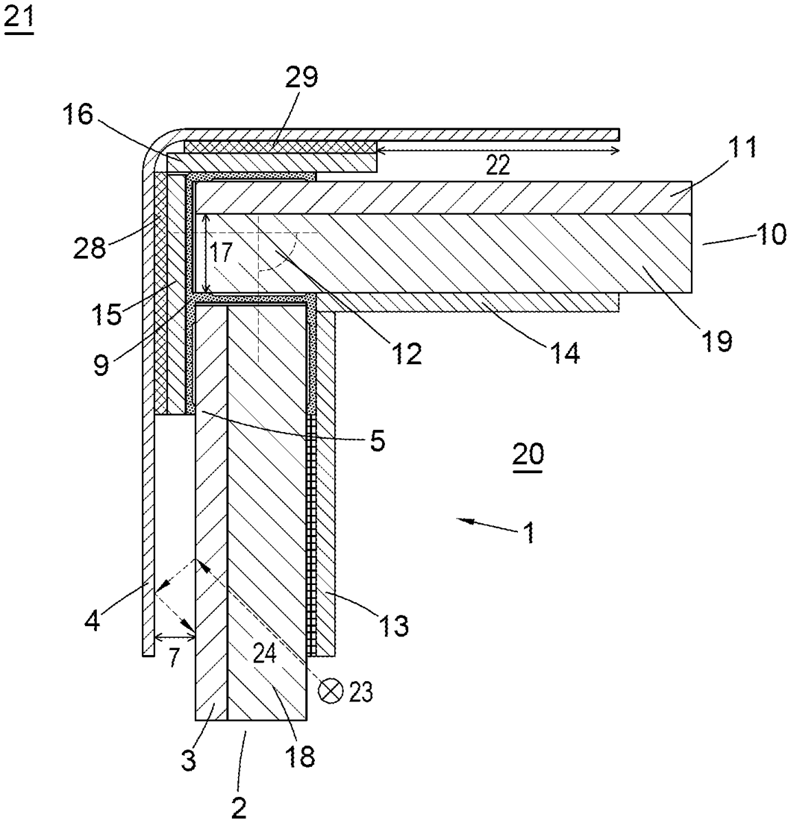
The patent describes an aircraft wall assembly featuring a ballistic protection layer designed to absorb energy from projectile impacts, with a constrained portion that limits deformation to reduce energy absorption. Additionally, a barrier is included to deflect any projectile material that penetrates the constrained area during an impact.
Claim 1
- An aircraft wall assembly, comprising: a panel comprising a ballistic protection layer configured to deform to absorb energy during a projectile impact; and a barrier; wherein the ballistic protection layer comprises a constrained portion, wherein deformation of the ballistic protection layer at the constrained portion is constrained such that the energy absorbed by the constrained portion during the projectile impact is reduced, wherein the barrier is configured to deflect projectile material that passes through the constrained portion of the panel during the projectile impact. a panel comprising a ballistic protection layer configured to deform to absorb energy during a projectile impact; and a barrier; wherein the ballistic protection layer comprises a constrained portion, wherein deformation of the ballistic protection layer at the constrained portion is constrained such that the energy absorbed by the constrained portion during the projectile impact is reduced, wherein the barrier is configured to deflect projectile material that passes through the constrained portion of the panel during the projectile impact.
Google Patents
https://patents.google.com/patent/US12352539
USPTO PDF
https://image-ppubs.uspto.gov/dirsearch-public/print/downloadPdf/12352539