US12352552 - Wireless initiating arrangement

The patent describes a wireless detonator initiating arrangement that includes multiple housings containing a signal processor, explosive material, and a power source, all designed to work together for ignition. The arrangement features an initiator that connects to both the first and second housings, allowing for manual or electrical control of the power source to the signal processing assembly.
Claim 1
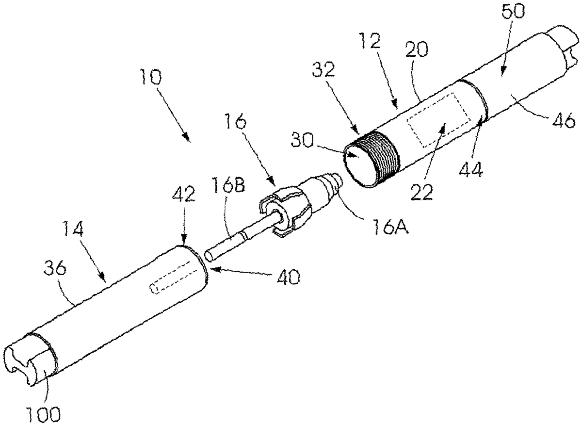
- A wireless detonator initiating arrangement ( 10 ) which includes a first module ( 12 ) comprising a first housing ( 20 ) which includes contacts ( 58 ) and in which is mounted a signal processing assembly ( 24 , 28 ), a second module ( 14 ) comprising a second housing ( 36 ) which is engageable with the first housing ( 20 ) and which contains an explosive material ( 38 ), and an initiator ( 16 ) which is engageable with at least the first housing ( 20 ) characterised in that the initiator ( 16 ) includes a first end ( 16 A) which is locatable in a first recess ( 30 ) in the first housing ( 20 ) and a second end ( 16 B) which is locatable in a second recess ( 40 ) in the second housing ( 36 ), in that the wireless detonator initiator arrangement ( 10 ) further includes a third housing ( 46 ), with contacts ( 56 ), which contains a power source ( 50 ) and which is engageable with the first housing ( 20 ) whereby the contacts ( 56 ) are connected to the contacts ( 58 ) to enable the power source ( 50 ) to power the signal processing assembly ( 24 , 28 ), and in that the first module ( 12 ) includes a switch ( 54 ) which is actuable manually or electrically to control the connection of the power source ( 50 ) to the signal processing assembly ( 24 , 28 ).
Google Patents
https://patents.google.com/patent/US12352552
USPTO PDF
https://image-ppubs.uspto.gov/dirsearch-public/print/downloadPdf/12352552